Jump to content

Πληροφορική-Kβαντικοi υπολ.-Νανοτεχνολογία.


Προτεινόμενες αναρτήσεις

Δημοσιεύτηκε

Ο πρώτος υπολογιστής από νανοσωλήνες άνθρακα. :cheesy:

Τον δρόμο για μια νέα γενιά ηλεκτρονικών συσκευών, με ολοκληρωμένα κυκλώματα τα οποία δεν θα κατασκευάζονται από πυρίτιο, ανοίγει ο υπολογιστής που ανέπτυξαν ερευνητές από το πανεπιστήμιο Stanford.

Με όνομα Cedric, ο υπολογιστής είναι ο πρώτος στον κόσμο που αποτελείται αποκλειστικά από νανοσωλήνες άνθρακα.

Αν και ο Cedric είναι πλήρως λειτουργικός, η ταχύτητά του μπορεί να συγκριθεί με αυτές ενός συμβατικού κομπιούτερ της δεκαετίας του ’50. Όπως ανέφερε χαρακτηριστικά στο BBC o Max Shulaker, μέλος της ομάδας του αμερικανικού πανεπιστημίου, αν χρησιμοποιήσει κανείς ανθρωπομορφικούς όρους, θα παρομοίαζε τον υπολογιστή με ένα μικρό παιδί, που ξέρει τα γράμματα της αλφαβήτου και μπορεί επίσης να μετρήσει μέχρι το δέκα.

Ακόμη κι έτσι, όμως, καταφέρνει να λύνει απλά προβλήματα, όπως να ταξινομεί αριθμούς, χωρίς να δίνει ποτέ λανθασμένη απάντηση. Κάτι που συμβαίνει για πρώτη φορά με ένα μηχάνημα που έχει κατασκευασθεί από το συγκεκριμένο υλικό.

Επομένως, πολύ περισσότερο από τις σημερινές δυνατότητες του, ο Cedric αποτελεί ορόσημο καθώς αποδεικνύει για πρώτη φορά στην πράξη πως μπορεί να κατασκευασθεί ένας υπολογιστής από νανοσωλήνες άνθρακα.

Έτσι, ανοίγει πλέον τον δρόμο για ηλεκτρονικές συσκευές νέας γενιάς, οι οποίες θα είναι ταχύτερες και λιγότερο ενεργοβόρες από τις σημερινές. Και παράλληλα, δίνει μια διέξοδο στο αναπόφευκτο φυσικό όριο που κάποια στιγμή θα έθετε το πυρίτιο, όσον αφορά την αύξηση της πυκνότητας των τρανζίστορ και, κατά συνέπεια, την ανάπτυξη ολοένα ταχύτερων ηλεκτρονικών συσκευών. Κάτι που θα σημαίνει ότι θα πάρει παράταση για αρκετές δεκαετίες ακόμη ο νόμος του Moore.

Παρόλο που πολλοί ειδικοί υποστηρίζουν εδώ και καιρό πως οι νανοσωλήνες άνθρακα θα αποτελέσουν τον διάδοχο του πυριτίου, μέχρι σήμερα καμία άλλη επιστημονική ομάδα στον κόσμο δεν είχε καταφέρει να αναπτύξει ένα λειτουργικό μηχάνημα.

Αντίθετα, η ομάδα του Stanford έλυσε τα δύο σημαντικότερα εμπόδια που μέχρι σήμερα έμοιαζαν ανυπέρβλητα, υποστηρίζοντας μάλιστα πως από εδώ και πέρα είναι απλώς θέμα χρόνου να αναπτυχθούν πιο ισχυρά μηχανήματα. Γι’ αυτό τον σκοπό, το επόμενο βήμα τους θα είναι να μικρύνουν το μέγεθος των τρανζίστορ, τα οποία στην παρούσα μορφή τους είναι μεγαλύτερα από τα τσιπ πυριτίου.

http://portal.kathimerini.gr/4dcgi/_w_articles_kathworld_1_26/09/2013_520440

C437952426DC3C52A868B78BE1CFB0A1.jpg.09947ca8efbef8637fd2ea0fbdc96624.jpg

computer_carbon_nanotubes.jpg.eca70973cd4ff990dbbd6b855acdd01e.jpg

Ο πλανήτης μας ειναι το λίκνο της ανθρωπότητας.Αλλα κανείς δεν περνάει ολη του τη ζωή στο λίκνο.

Κονσταντίν Εντουάρντοβιτς Τσιολκόφσκι.

  • 2 εβδομάδες αργότερα...
  • Απαντήσεις 643
  • Created
  • Τελευταία απάντηση

Top Posters In This Topic

Top Posters In This Topic

Posted Images

Δημοσιεύτηκε

Η Ελλάδα 32η στην παγκόσμια κατάταξη Πληροφορικής και Τηλεπικοινωνιών - Ψηφιακά εξοικειωμένοι 861.100 νέοι. :cheesy:

Εξάλλου, η χώρα μας εμφανίζεται στην 68η θέση το 2012 στην παγκόσμια κατάταξη της «ψηφιακής νεολαίας» (ποσοστό των ψηφιακά εξοικειωμένων νέων στο σύνολο του πληθυσμού μιας χώρας).

Τα στοιχεία αυτά περιλαμβάνονται στη νέα έκθεση «Μετρώντας την Κοινωνία της Πληροφορίας 2013», που έδωσε στη δημοσιότητα η Διεθνής Ένωση Τηλεπικοινωνιών (ITU), σε συνεργασία με το Ινστιτούτο Τεχνολογίας της Τζόρτζια (Georgia Tech) των ΗΠΑ.

Ως ψηφιακά εξοικειωμένοι θεωρούνται οι νέοι ηλικίας 15 έως 24 ετών με πέντε ή περισσότερα χρόνια online εμπειρίας. Στην Ελλάδα η ψηφιακή νεολαία εμφανίζεται να αριθμεί συνολικά 861.100 νέους, που αποτελούν περίπου το 7,5% του ελληνικού πληθυσμού και το 75% της συνολικής ελληνικής νεολαίας.

Το 2012 η ψηφιακή νεολαία αριθμούσε περίπου 365 εκατ. διεθνώς, δηλαδή το 5,2% του παγκόσμιου πληθυσμού των 7 δισεκατομμυρίων ανθρώπων.

Η ψηφιακή νεολαία συνιστά το 30% του συνόλου της παγκόσμιας νεολαίας, συνεπώς, σύμφωνα με την έκθεση, η πλειονότητα των νέων του πλανήτη μας (το 70%), που κατοικούν κυρίως στις φτωχότερες χώρες, έχουν ακόμα μηδαμινή ή μικρότερη των πέντε ετών ψηφιακή εμπειρία.

 

Σχόλιο:Ψηφιακό χάσμα που αν δεν κλείσει οσο το δυνατόν ταχύτερα τίποτα δεν εξασφαλίζει την πρόοδο της ανθρωπότητας!!! :cheesy:

 

Η χώρα με το μεγαλύτερο ποσοστό ψηφιακής νεολαίας στο σύνολο του πληθυσμού είναι η Ισλανδία με 13,9% και αυτή με το μεγαλύτερο ποσοστό στο σύνολο των νέων είναι η Νότια Κορέα με 99,6%.

Από τις γειτονικές χώρες, χαμηλότερα από την Ελλάδα στην κατάταξη της ψηφιακής νεολαίας βρίσκεται η Ιταλία (78η) και ψηλότερα η ΠΓΔΜ (42η), η Κύπρος (45η), η Τουρκία (49η) και η Βουλγαρία (67η).

Όσον αφορά στο Δείκτη Ανάπτυξης Τεχνολογιών Πληροφορικής και Τηλεπικοινωνιών (ΤΠΕ), είναι ένας σύνθετος δείκτης που απαρτίζεται από επιμέρους παραμέτρους, όπως ο βαθμός πρόσβασης του πληθυσμού μιας χώρας στις νέες τεχνολογίες, η ένταση της χρήσης τους και οι ψηφιακές δεξιότητες των χρηστών. Από τις γειτονικές χώρες, χαμηλότερα από την Ελλάδα το 2012 βρέθηκαν η Κύπρος (45η), η Βουλγαρία (46η), η ΠΓΔΜ (57η), η Τουρκία (69η) και η Αλβανία (80ή).

Τα κυριότερα λοιπά ευρήματα της έκθεσης είναι τα εξής:

- Έως το τέλος του 2013 θα υπάρχουν διεθνώς 6,8 δισεκατομμύρια συνδρομές κινητής τηλεφωνίας, σχεδόν όσοι και οι κάτοικοι του πλανήτη. Ακόμα, έως το τέλος του έτους, περίπου 2,7 δισεκατομμύρια άνθρωποι στη Γη θα χρησιμοποιούν το Ίντερνετ, πράγμα που σημαίνει ότι οι υπόλοιποι 4,4 δισεκατομμύρια δεν θα είναι ακόμα online. ](*,)

- Έως το τέλος του 2012, το ποσοστό του παγκόσμιου πληθυσμού που καλυπτόταν από κάποιο ευρυζωνικό τηλεπικοινωνιακό δίκτυο τρίτης γενιάς (3G), άγγιζε το 50%. Έως το τέλος του 2013 θα υπάρχουν περίπου 2 δισεκατομμύρια κινητές ευρυζωνικές συνδρομές. Η μέση παγκόσμια διείσδυση του 3G αναπτύσσεται με μέσο ταχύ ετήσιο ρυθμό 40% και πλέον φθάνει σχεδόν το 30%, αλλά κυμαίνεται από 75% στις ανεπτυγμένες χώρες έως 20% στις αναπτυσσόμενες.

- Οι τιμές των σταθερών ευρυζωνικών συνδέσεων εμφανίζουν μείωση διεθνώς, της τάξης του 82% κατά την τελευταία τετραετία. Η μέση τιμή το 2012 ήταν 19,5 δολάρια ανά Mbit ανά δευτερόλεπτο, σχεδόν το ένα τέταρτο σε σχέση με το 2008. Η Ελλάδα εμφανίζεται η 27η φθηνότερη χώρα διεθνώς, στο ίδιο επίπεδο τιμών (ως ποσοστό του ΑΕΠ ανά κεφαλή) με τη Γερμανία.

- Μεταξύ 2007-2011 τα παγκόσμια τηλεπικοινωνιακά έσοδα αυξήθηκαν κατά 12%, φθάνοντας τα 1,8 τρισεκατομμύρια δολάρια ή ποσοστό 2,6% του παγκόσμιου ΑΕΠ, αν και η οικονομική κρίση έβαλε «φρένο» στον τηλεπικοινωνιακό τζίρο στις ανεπτυγμένες χώρες.

- Στο τέλος του 2013 αναμένεται, ότι σχεδόν το 40% του παγκόσμιου πληθυσμού θα βρίσκεται διασυνδεμένο online στο διαδίκτυο. Ο αριθμός των νοικοκυριών με πρόσβαση στο διαδίκτυο εμφανίζει μεγάλη «ψαλίδα», από σχεδόν 80% του συνόλου στις ανεπτυγμένες χώρες σε 28% στις αναπτυσσόμενες.

Περίπου 1,1 δισεκατομμύρια νοικοκυριά στον πλανήτη δεν έχουν ακόμα συνδεθεί στο Ίντερνετ, το 90% των οποίων βρίσκονται στις φτωχότερες χώρες.

- Στο τέλος του 2012 σχεδόν το 80% των νοικοκυριών στη Γη είχαν τηλεόραση, έναντι 41% που είχαν ηλεκτρονικό υπολογιστή. Σε 1,4 δισεκατομμύρια εκτιμώνται τα νοικοκυριά που έχουν τουλάχιστον μια τηλεοπτική συσκευή στο σπίτι τους. Ενώ στις αναπτυγμένες χώρες ουσιαστικά δεν υπάρχει πια σπίτι χωρίς τηλεόραση, στις αναπτυσσόμενες χώρες μόνο το 69% των νοικοκυριών διαθέτουν τηλεόραση.

http://portal.kathimerini.gr/4dcgi/_w_articles_kathworld_1_08/10/2013_522158

 

Facebook, Microsoft και Google συνεργάζονται για προσιτό ίντερνετ σε όλο τον πλανήτη. :cheesy:

Τεχνολογικοί κολοσσοί όπως το Facebook, η Microsoft, η Cisco, η Intel και η Google αποφάσισαν να ενώσουν τις δυνάμεις τους, με σκοπό την περαιτέρω διάδοση του ίντερνετ στις αναπτυσσόμενες χώρες. Γι’ αυτό τον σκοπό, οι εταιρείες δημιούργησαν την πρωτοβουλία «Alliance for Affordable Internet» (A4AI), θέτοντας επικεφαλής τον Tim Berners-Lee, «πατέρα του διαδικτύου» και ιδρυτή του World Wide Web Foundation.

Η ανακοίνωση της πρωτοβουλίας έγινε χθες, με τον Tim Berners-Lee να αναφέρει πως το κόστος των συνδέσεων παραμένει εξαιρετικά υψηλό σε πολλές αναπτυσσόμενες χώρες, με συνέπεια η πρόσβαση στο web να είναι απαγορευτική για πολλούς κατοίκους.

«Στη Μοζαμβίκη, για παράδειγμα, πρόσφατη έρευνα έδειξε πως η κατανάλωση όγκου δεδομένων 1 GB στοιχίζει όσο δύο μέσοι μηνιαίοι μισθοί», ανέφερε χαρακτηριστικά.

Η A4AI θέλει να συμβάλει από τη μεριά της στην επίτευξη του στόχου των Ηνωμένων Εθνών, ο οποίος είναι να μειωθεί η τιμή των ιντερνετικών συνδέσεων παγκοσμίως στο 5% του μέσου μισθού. Αν αυτό δεν συμβεί, σημείωσε ο «πατέρας του διαδικτύου», τότε θα συνεχίσει να διευρύνεται το ψηφιακό χάσμα μεταξύ των αναπτυγμένων και αναπτυσσόμενων χωρών, επιτείνοντας τις ανισότητες στην εκπαίδευση, την υγεία και την επιστήμη.

Αυτή τη στιγμή, μόλις το 31% των κατοίκων στα αναπτυσσόμενα κράτη έχουν πρόσβαση στο web, με το ποσοστό αυτό να αγγίζει το 77% στις αναπτυγμένες χώρες.

Σχόλιο:Πολλη καλή είδηση που αν την συνδυάσουμε με την προηγούμενη δημοσίευση σημαίνει οτι ολοι καταλαβαίνουν αυτό που εγραψα παραπάνω οτι ψηφιακό χάσμα και πρόοδος της ανθρωπότητας δεν συνδυάζονται. :cheesy:

http://portal.kathimerini.gr/4dcgi/_w_articles_kathworld_1_08/10/2013_522115

Ο πλανήτης μας ειναι το λίκνο της ανθρωπότητας.Αλλα κανείς δεν περνάει ολη του τη ζωή στο λίκνο.

Κονσταντίν Εντουάρντοβιτς Τσιολκόφσκι.

Δημοσιεύτηκε

Νέο παγκόσμιο ρεκόρ ασύρματης μετάδοσης δεδομένων με ταχύτητα 100 Gbit ανά δευτερόλεπτο. :cheesy:

Γερμανοί ερευνητές πέτυχαν νέο παγκόσμιο ρεκόρ ασύρματης μετάδοσης δεδομένων με ταχύτητα 100 Gbit ανά δευτερόλεπτο, σε απόσταση άνω των 20 μέτρων στο εργαστήριό τους και με συχνότητα 237,5 Ghz.

Αν και σε πειραματικό ακόμα στάδιο, πρόκειται για ένα ακόμα βήμα στην προσπάθεια περαιτέρω βελτίωσης των ασύρματων ευρυζωνικών επικοινωνιών, οι οποίες αποτελούν μια εναλλακτική και φθηνότερη λύση σε σχέση με τα σταθερά δίκτυα οπτικών ινών, ιδίως για τις απομακρυσμένες αγροτικές περιοχές, όπου η τοποθέτηση καλωδίων απαιτεί μεγάλες επενδύσεις.

Οι επιστήμονες του Ινστιτούτου Τεχνολογίας της Καρλσρούης (ΚΙΤ), του πανεπιστημίου της Στουγκάρδης και του Ινστιτούτου Φραουνχόφερ, με επικεφαλής τον καθηγητή Ινγκμαρ Κάλφας, που έκαναν τη σχετική δημοσίευση στο περιοδικό για θέματα φωτονικής "Nature Photonics",

http://www.nature.com/nphoton/journal/vaop/ncurrent/full/nphoton.2013.275.html

ανέφεραν ότι «με ταχύτητα μετάδοσης 100 Gbit/s, θα είναι δυνατό να μεταδώσουμε ασύρματα τα περιεχόμενα ενός δίσκου blue-ray ή πέντε DVD ανάμεσα σε δύο συσκευές μέσα σε μόνο δύο δευτερόλεπτα».

Το επίτευγμα των γερμανών ερευνητών συνδύασε την ηλεκτρονική και τη φωτονική τεχνολογία, καθώς τα υψηλής συχνότητας ραδιοσήματα δημιουργούνται από συστήματα οπτικών ινών μέσω μιας οπτικής (φωτονικής) μεθόδου, η οποία επιτρέπει την ταυτόχρονη μετάδοση πολύ περισσότερων δεδομένων (bits), τα οποία στη συνέχεια λαμβάνονται από ενεργά ολοκληρωμένα ηλεκτρονικά κυκλώματα. Τα εν λόγω «τσιπάκια» (ευρυζωνικοί δέκτες), που κατασκευάζονται από το διάσημο γερμανικό Ινστιτούτο Φραουνχόφερ, λειτουργούν σε εύρος συχνοτήτων 200 έως 280 Ghz, έχουν μέγεθος λίγων μόνο τετραγωνικών χιλιοστών και μπορούν να ενσωματωθούν χωρίς πρόβλημα σε ένα υφιστάμενο δίκτυο οπτικών ινών.

Σε προηγούμενα πειράματα, καθαρά με ηλεκτρονική τεχνολογία (χωρίς τη βοήθεια της φωτονικής), φέτος τον Μάιο, οι ερευνητές είχαν πετύχει ταχύτητα μετάδοσης 40 Gbit/s σε απόσταση άνω του ενός χιλιομέτρου.

Οι ερευνητές αισιοδοξούν πλέον ότι μπορούν να αυξήσουν την ταχύτητα ασύρματης μετάδοσης και πάνω από τα 100 Gbit/s, χάρη στο συνδυασμό των οπτικών και ηλεκτρονικών μεθόδων. Οπως ανέφερε ο ερευνητής Σβεν Κένιγκ του Ινστιτούτου Φωτονικής και Κβαντικής Ηλεκτρονικής του ΚΙΤ, «ραδιο-συστήματα με ταχύτητα μετάδοσης δεδομένων της τάξης του 1 Terabit το δευτερόλεπτο φαίνονται πια εφικτά».

http://www.tanea.gr/news/science-technology/article/5047519/neo-pagkosmio-rekor-asyrmaths-metadoshs-dedomenwn-me-taxythta-100-gbit-ana-deyterolepto/

Ο πλανήτης μας ειναι το λίκνο της ανθρωπότητας.Αλλα κανείς δεν περνάει ολη του τη ζωή στο λίκνο.

Κονσταντίν Εντουάρντοβιτς Τσιολκόφσκι.

Δημοσιεύτηκε

Κβαντικός υπολογιστής περνάει μαθηματικό τεστ αλλά δεν υπολόγισε ακόμη κάτι που να μην γνωρίζουμε! :cheesy:

Πως μπορούμε να πούμε ότι μια μηχανή είναι ένας κβαντικός υπολογιστής; Ένας τρόπος είναι να αποδείξουμε ότι η μηχανή μπορεί να λύσει προβλήματα γρηγορότερα ή καλύτερα από οποιαδήποτε αντίστοιχη κλασική προσέγγιση. Ένα άλλο τεστ είναι να «δούμε» μέσα στη μηχανή και να αποδείξουμε ότι τα qubits μπορούν να συμπλεχτούν δημιουργώντας κβαντικές υπερθέσεις. Σύμφωνα με τους Bian et al

http://arxiv.org/abs/1201.1842

για να ισχυριστούμε ότι μια συσκευή είναι κβαντικός υπολογιστής, θα πρέπει να δείξουμε ότι ικανοποιεί ένα ή και τα δυο αυτά χαρακτηριστικά.

Η καναδική εταιρία D-Wave Systems είναι η πρώτη στον κόσμο που έχει λανσάρει μια εμπορική έκδοση κβαντικού υπολογιστή. Με τιμή αρκετών εκατομμυρίων δολαρίων, αγοραστές των μοντέλων πρώτης και δεύτερης γενιάς (128 και 512 κβαντικών μπιτ – qubit) μπορούν να είναι μόνο εταιρίες κολοσσοί και οργανισμοί. Τον περασμένο Μάιο, είχε λάβει μεγάλη δημοσιότητα η είδηση πως η Google σε συνεργασία με τη NASA και πανεπιστημιακούς φορείς, είχαν γίνει κάτοχοι ενός συστήματος D-Wave II.

Σύμφωνα με μία έρευνα που δημοσιεύεται στο περιοδικό Physical Review Letters,

http://prl.aps.org/abstract/PRL/v111/i13/e130505

επιστήμονες έθεσαν σε έναν υπολογιστή D-Wave με επεξεργαστή 128 qubit ένα δύσκολο μαθηματικό πρόβλημα, προσπαθώντας να διαπιστώσουν εάν όντως μπορούσε να ανταπεξέλθει στις υψηλές απαιτήσεις.

Το πρόβλημα που κλήθηκε να επεξεργαστεί ο κβαντικός υπολογιστής, σχετίζεται με τη θεωρία Ramsey, που πήρε το όνομά της από το βρετανό μαθηματικό Frank Ramsey. Η θεωρία μελετά τις συνθήκες κάτω από τις οποίες μπορεί να προκύψει τάξη σε μια άτακτη κατάσταση.

Για παράδειγμα, ένα από τα ερωτήματα που μπορεί να απαντήσει η θεωρία, είναι το «πρόβλημα του πάρτι». Το πρόβλημα αυτό ρωτά ποιος είναι ο ελάχιστος αριθμός καλεσμένων R(m,n) σε μία συγκέντρωση, έτσι ώστε να υπάρχουν τουλάχιστον m καλεσμένοι που γνωρίζονται μεταξύ τους, και n καλεσμένοι που δε γνωρίζονται μεταξύ τους. Η θεωρία Ramsey, μεταφέρει το πρόβλημα στη θεωρία γρυφων, και λύνει το πρόβλημα με τη χρήση αριθμών Ramsey, και αποδεικνύει πως υπάρχουν τέτοιοι αριθμοί για κάθε πρόβλημα.

Σε περίπτωση που έχουμε χαμηλές τιμές των m, n, η απάντηση είναι σχετικά εύκολο να βρεθεί. Για παράδειγμα, εάν τα m και n είναι ίσα με τρία, τότε ο ελάχιστος αριθμός καλεσμένων είναι έξι. Όσο μεγαλώνουν όμως οι αριθμοί, η απάντηση είναι ολοένα και πιο δύσκολο να βρεθεί, μέχρι το σημείο όπου ακόμη και η χρήση των συμβατικών υπολογιστών είναι αδύνατο να προσφέρει τη λύση.

Το σύστημα D-Wave ανταποκρίθηκε με επιτυχία στο πρόβλημα, βρίσκοντας ένα μεγάλο αριθμό αριθμών Ramsey, αλλά κανέναν που να μην έχει υπολογιστεί μέχρι σήμερα με άλλους τρόπους.

Το γεγονός αυτό είναι σε πρώτη φάση ενθαρρυντικό, αλλά δεν ικανοποιεί εκείνους που ελπίζουν πως οι κβαντικοί υπολογιστές θα είναι σε θέση να λύσουν προβλήματα με εκθετική πολυπλοκότητα, ανοίγοντας ερωτήματα για το κατά πόσο η συσκευή της D-Wave μπορεί όντως να θεωρηθεί κβαντικός υπολογιστής. Ωστόσο, υπεύθυνοι της εταιρίας πιστεύουν πως το αναβαθμισμένο τους σύστημα των 2048 qubit, το οποίο θα κυκλοφορήσει το 2015, θα είναι σε θέση να υπολογίσει αριθμούς Ramsey που δεν έχουν υπολογιστεί ποτέ ξανά.

http://physicsgg.me/2013/10/17/%ce%ba%ce%b2%ce%b1%ce%bd%cf%84%ce%b9%ce%ba%cf%8c%cf%82-%cf%85%cf%80%ce%bf%ce%bb%ce%bf%ce%b3%ce%b9%cf%83%cf%84%ce%ae%cf%82-%cf%80%ce%b5%cf%81%ce%bd%ce%ac%ce%b5%ce%b9-%ce%bc%ce%b1%ce%b8%ce%b7%ce%bc/

d-wave-system-with-visible-512-qubit-chip.thumb.jpg.e651673a97abd51f840a240abeb77609.jpg

Ο πλανήτης μας ειναι το λίκνο της ανθρωπότητας.Αλλα κανείς δεν περνάει ολη του τη ζωή στο λίκνο.

Κονσταντίν Εντουάρντοβιτς Τσιολκόφσκι.

Δημοσιεύτηκε

Ηλεκτρονικός εγκέφαλος της ΙBM ζει με «ηλεκτρονικό αίμα» :cheesy:

Η βιομηχανία ημιαγωγών θα μπορούσε να λύσει δύο από τα μεγαλύτερα προβλήματά της αν υιοθετούσε την αρχιτεκτονική του ανθρώπινου εγκεφάλου, πιστεύει η IBM. Το ερευνητικό τμήμα της εταιρείας στη Ζυρίχη παρουσίασε το πρωτότυπο ενός υπολογιστή που χρησιμοποιεί «ηλεκτρονικό αίμα» τόσο για την ψύξη του όσο και για την τροφοδοσία του με ηλεκτρική ενέργεια.

«Ο ανθρώπινος εγκέφαλος είναι 10.000 φορές πιο πυκνός και πιο αποδοτικός από οποιονδήποτε σημερινό υπολογιστή» είπε ο Δρ Μπρούνο Μίτσελ της IBM Research σε επίδειξη που παρακολούθησε και το BBC.

http://www.bbc.co.uk/news/science-environment-24571219

«Αυτό είναι εφικτό επειδή ο εγκέφαλος χρησιμοποιεί ένα εξαιρετικά αποδοτικό δίκτυο από τριχοειδή αιμοφόρα αγγεία, το οποίο μεταφέρει θερμότητα και ταυτόχρονα μεταφέρει ενέργεια» εξήγησε.

Τα σημερινά κυκλώματα από πυρίτιο πλησιάζουν τα θεωρητικά τους όρια, καθώς σύντομα θα είναι αδύνατο να μικρύνουν περισσότερο χωρίς να καίγονται από υπερθέρμανση.

Η μεγάλη εκπομπή θερμότητας αποτελεί ήδη εμπόδιο σε μια προσέγγιση της IBM για τη δημιουργία «τρισδιάστατων» κυκλωμάτων,

http://news.in.gr/science-technology/article/?aid=417967

στα οποία τα τσιπ στοιβάζονται πάνω σε άλλα και αυξάνουν έτσι την πυκνότητα του συστήματος. Αναγκαστικά, τα περισσότερα σημερινά κυκλώματα είναι «δισδιάστατα», απλωμένα δηλαδή σε μια επίπεδη επιφάνεια ώστε να έρχονται σε επαφή με τον αέρα και να ψύχονται καλύτερα.

Η χρήση του «ηλεκτρονικού αίματος», το οποίο ψύχει τον υπολογιστή όπως το αίμα απάγει θερμότητα από τον εγκέφαλο, ενώ ταυτόχρονα προσφέρει ενέργεια όπως το αίμα προσφέρει καύσιμα στους εγκεφαλικούς ιστούς, θα επέτρεπε την αύξηση της πυκνότητας των τσιπ με ταυτόχρονη μείωση της κατανάλωσης.

«Σε έναν υπολογιστή, οι επεξεργαστές καταλαμβάνουν μόλις το ένα εκατομμυριοστό του συνολικού όγκου. Σε έναν εγκέφαλο, το ποσοστό ανεβαίνει στο 40%. Ο εγκέφαλός μας είναι ένα πραγματικά πυκνό αντικείμενο» επισήμανε ο Δρ Μίτσελ στον απεσταλμένο του CNET.

http://news.cnet.com/8301-11386_3-57607926-76/how-ibm-is-making-computers-more-like-your-brain-for-real/

Ο Μίτσελ και οι συνεργάτες του παρουσίασαν ένα απλό σύστημα με τσιπ που φέρουν μικρά κανάλια για το ροή υγρού, με διάμετρο μόλις 100 μικρόμετρα. Το υγρό που ρέει μέσα στα κανάλια απάγει την παραγόμενη ενέργεια, όπως συμβαίνει και σε παλαιότερα υγρόψυκτα συστήματα, ταυτόχρονα όμως λειτουργεί ως παροχή ηλεκτρικού ρεύματος.

Αυτό επιτυγχάνεται συνδέοντας το σύστημα με μια «μπαταρία ροής οξειδοαναγωγής βαναδίου» -ένα είδος μπαταρίας που μεταφέρει χημική ενέργεια αποθηκευμένη σε ιόντα βαναδίου.

Η IBM πιστεύει ότι η νέα αυτή προσέγγιση θα είναι έτοιμη για εμπορική εφαρμογή σε περίπου μια δεκαετία.

Απώτερος στόχος είναι η ανάπτυξη ενός υπερυπολογιστή ισχύος 1 petaflops (15 τετράκις εκατομμύρια πράξεις ανά δευτερόλεπτο) σε μέγεθος επιτραπέζιου υπολογιστή.

Σήμερα ένα τέτοιο σύστημα καταλαμβάνει χώρο όσο μισό γήπεδο ποδοσφαίρου και καταναλώνει δεκάδες χιλιάδες watt ηλεκτρικής ενέργειας.

Όπως επισήμαναν οι ερευνητές, ο υπερυπολογιστής Watson της IBM, ένα σύστημα τεχνητής νοημοσύνης που ανακηρύχθηκε πρωταθλητής στο τηλεπαιχνίδι γνώσεων Jeopardy!,

http://news.in.gr/science-technology/article/?aid=1231079647

καταναλώνει 85.000 watt. Συγκριτικά, ο εγκέφαλος των ανθρώπινων αντιπάλων του τους οποίους νίκησε μετά βίας καταναλώνει μόλις 20 watt.

«Όπως οι υπολογιστές μάς βοηθούν να κατανοήσουμε τον εγκέφαλο, έτσι και η κατανόηση του εγκεφάλου θα μας βοηθήσει να αναπτύξουμε καλύτερους υπολογιστές» σχολίασε ο Ματίας Κάιζερσβερτ, διευθυντής της IBM Research στη Ζυρίχη.

http://news.in.gr/science-technology/article/?aid=1231269942

.jpg.72d67f834027813dc1dcd87b30067105.jpg

Ο πλανήτης μας ειναι το λίκνο της ανθρωπότητας.Αλλα κανείς δεν περνάει ολη του τη ζωή στο λίκνο.

Κονσταντίν Εντουάρντοβιτς Τσιολκόφσκι.

Δημοσιεύτηκε

Επειδή μαλλον ο δικος μας εγκέφαλος ειναι πρωτης γενιάς και ο δικος του κβαντικός!!!

Ο εγκέφαλος του Αϊνστάιν «ήταν καλύτερα δικτυωμένος» :cheesy:

Η μεγαλοφυΐα του Αλβέρτου Αϊνστάιν, πέρα από τον θαυμασμό που προκαλεί, έχει προβληματίσει πολλούς, επιστήμονες και μη, οι οποίοι ψάχνουν να βρουν την «πηγή» της. Για τους μη επιστήμονες η συζήτηση είναι καθαρά θεωρητική, οι ειδικοί όμως μπορούν να προχωρήσουν από τη θεωρία στην... πράξη εξετάζοντας τον εγκέφαλο του μεγάλου φυσικού για να βρουν τι ήταν εκείνο που τον έκανε ξεχωριστό. Η τελευταία μελέτη του είδους έρχεται από την Κίνα και διαπιστώνει πως τα δύο ημισφαίρια του εγκεφάλου του Αϊνστάιν ήταν καλύτερα συνδεδεμένα από ό,τι αυτά του μέσου ανθρώπου.

Η μελέτη βασίστηκε σε μια σειρά φωτογραφίες του εγκεφάλου του Αϊνστάιν - 14 τον αριθμό - οι οποίες είχαν ληφθεί κατά τη νεκροψία που είχε διεξαχθεί μετά τον θάνατό του και ήρθαν πρόσφατα στο φως. Οι ερευνητές από το Παιδαγωγικό Πανεπιστήμιο της Ανατολικής Κίνας ζήτησαν να μελετήσουν δύο συγκεκριμένες: απεικονίζουν την επιφάνεια του μέσου εγκεφάλου στο δεξιό και στο αριστερό ημισφαίριο και σε αυτές διακρίνεται καθαρά το ραβδωτό σώμα, μια δέσμη νεύρων που συνδέει τα δύο ημισφαίρια.

Χρησιμοποιώντας μια νέα τεχνική οι κινέζοι επιστήμονες πέτυχαν να μετρήσουν το πάχος του ραβδωτού σώματος και στη συνέχεια το συνέκριναν με εκείνο 15 ηλικιωμένων ανδρών και 52 ανδρών ηλικίας 26 ετών - ηλικία στην οποία βρισκόταν ο Αϊνστάιν το 1905, όταν συνέλαβε την κβαντική θεωρία του φωτός, απέδειξε την ύπαρξη των ατόμων και διατύπωσε τη Θεωρία της Σχετικότητας. Οπως διαπίστωσαν, το ραβδωτό σώμα του μεγαλοφυούς εγκεφάλου ήταν παχύτερο από ό,τι στις δύο άλλες ομάδες.

Το ραβδωτό σώμα είναι μια παχιά δέσμη νεύρων η οποία συνδέει τα δύο ημισφαίρια του εγκεφάλου και εξασφαλίζει την επικοινωνία τους. Το γεγονός ότι το ραβδωτό σώμα του εγκεφάλου του Αϊνστάιν είχε μεγαλύτερο πάχος από εκείνο όλων των ανδρικών εγκεφάλων που εξετάστηκαν σημαίνει, σύμφωνα με τους ειδικούς, ότι είχε περισσότερα νεύρα και άρα εξασφάλιζε καλύτερη «σύνδεση» και επικοινωνία μεταξύ των δύο ημισφαιρίων.

Η μελέτη των κινέζων επιστημόνων, η οποία δημοσιεύθηκε στην επιθεώρηση «Brain», δεν είναι η πρώτη που εξετάζει τις νεοανακαλυφθείσες φωτογραφίες. Η πρώτη ανάλυσή τους έγινε από ομάδα ερευνητών στο Πολιτειακό Πανεπιστήμιο της Φλόριδας με επικεφαλής τον Ντιν Φολκ και τα αποτελέσματά της δημοσιεύθηκαν το 2012 στην ίδια επιθεώρηση.

Σύμφωνα με αυτά, ο εγκέφαλος του Αϊνστάιν παρουσιάζει και άλλες ιδιαιτερότητες, με πιο «τρανταχτές» κάποια ιδιαίτερα χαρακτηριστικά που παρατηρήθηκαν στον προμετωπιαίο φλοιό και στον βρεγματικό λοβό, καθώς και το ότι ο σωματοαισθητικός και ο οπτικός φλοιός είναι μεγαλύτεροι από το συνηθισμένο. Ο προμετωπιαίος φλοιός σχετίζεται με την αφηρημένη σκέψη, ενώ ο βρεγματικός λοβός σχετίζεται με την οπτική -χωρική αντίληψη και τη μαθηματική ικανότητα. Η μεγάλη ανάπτυξη του σωματοαισθητικού φλοιού, σύμφωνα με τους επιστήμονες, ενδέχεται να οφείλεται στο γεγονός ότι ο μεγάλος φυσικός έπαιζε βιολί.

Εκτός από τις ασυνήθιστες ικανότητές του, ο εγκέφαλος του Αϊνστάιν έχει επίσης μια ασυνήθιστη ιστορία. Μετά τον θάνατό του αφαιρέθηκε - χωρίς να έχει ζητηθεί η άδεια των συγγενών - από τον Τόμας Χάρβεϊ, ο οποίος είχε αναλάβει να διεξαγάγει τη νεκροψία. Αν και στη συνέχεια έλαβε τη σχετική άδεια από τον γιο του Αϊνστάιν, ο Χάρβεϊ έχασε τη θέση του εξαιτίας αυτού του γεγονότος και αποσυρόμενος πήρε μαζί του τον πολύτιμο εγκέφαλο μέσα σε δύο βάζα με φορμαλδεΰδη τα οποία διατηρούσε σε ένα κιβώτιο στο γραφείο του.

Οταν έκανε τη νεκροψία στον Αϊνστάιν, ο Χάρβεϊ είχε μελετήσει τον εγκέφαλό του, είχε τραβήξει επιμελώς δεκάδες φωτογραφίες από διαφορετικές γωνίες και στη συνέχεια τον είχε τεμαχίσει σε 240 κομμάτια. Με τα περιορισμένα μέσα της εποχής όμως δεν είχε διαπιστώσει κάτι το εξαιρετικό - αντιθέτως, αν και μεγαλοφυής, ο εγκέφαλος είχε ελαφρώς μικρότερο από το κανονικό βάρος και μέγεθος ενώ εμφάνιζε όλα τα σημάδια της ηλικίας (ο Αϊνστάιν πέθανε το 1955 στα 76 του χρόνια).

Δεκαετίες αργότερα αρκετοί ερευνητές ζήτησαν από τον Χάρβεϊ δείγματα του εγκεφάλου του Αϊνστάιν για να τα μελετήσουν με τις σύγχρονες μεθόδους. Οι νεότερες μελέτες εντόπισαν όλες ιδιαίτερα χαρακτηριστικά - μεταξύ αυτών την παρουσία πολύ περισσότερων από το συνηθισμένο γλοίων (μη νευρωνικά εγκεφαλικά κύτταρα) και την έλλειψη ορισμένων δομών από τον βρεγματικό λοβό (η οποία εικάζεται ότι ίσως να είχε οδηγήσει σε ενίσχυση των συνδέσμων στη συγκεκριμένη «μαθηματική» περιοχή).

http://news.in.gr/science-technology/article/?aid=1231270220

.jpg.9dbaa18f077d04dce4150749b30aea9b.jpg

.jpg.46e7bb462e90970cd1baa3bf26a77b72.jpg

Ο πλανήτης μας ειναι το λίκνο της ανθρωπότητας.Αλλα κανείς δεν περνάει ολη του τη ζωή στο λίκνο.

Κονσταντίν Εντουάρντοβιτς Τσιολκόφσκι.

Δημοσιεύτηκε

Μπορεί ένα παιχνίδι να διδάξει κβαντική μηχανική στα παιδιά; :cheesy:

Το qCraft είναι η επέκταση του παιχνιδιού Minecraft και φιλοδοξεί να εξοικειώσει τα παιδιά με αυτά που εμείς σήμερα θεωρούμε κβαντικά παράδοξα.

Το Minecraft είναι ένα παιχνίδι που αναπτύχθηκε από την εταιρεία Mojang και κυκλοφόρησε για υπολογιστές πριν από δυο χρόνια περίπου.

Όσοι έχουν ασχοληθεί με το παιχνίδι αυτό λένε ότι εστιάζει στη δημιουργικότητα και την οικοδόμηση, επιτρέποντας στους παίκτες να χτίσουν σε έναν τρισδιάστατο κόσμο, κατασκευές από κύβους διαφόρων υλικών, από μια μικρή ξύλινη καλύβα μέχρι ένα αντίγραφο του Enterprise από το Star Trek… Λένε επίσης ότι υπάρχουν εκατομμύρια χρήστες σε όλο τον κόσμο, κάθε ηλικίας, που όλοι τους έχουν ένα κοινό, τη μανία για δημιουργία…

Το qCraft είναι μια κβαντική (!) επέκταση αυτού του παιχνιδιού που δημιούργησε η Google.

Οι έννοιες της κβαντικής υπέρθεσης, της κβαντικής σύμπλεξης και τα παράδοξα όπως κβαντική τηλεμεταφορά ή ο γάτος του Schrodinger αποτελούν μέρος του παιχνιδιού, έτσι ώστε ο παίκτης να εξοικειώνεται με τα κβαντικά φαινόμενα.

Κάποια από τα αντικείμενα στο qCraft εμφανίζουν κβαντικές ιδιότητες π.χ. ζεύγος κομματιών βρίσκονται σε κβαντική σύμπλεξη, συνδέονται μεταξύ τους σε μεγάλες αποστάσεις μέσα στον κόσμο του Minecraft, και η παρατήρηση του ενός επηρεάζει και το άλλο, ή κάποιο άλλο αντικείμενο βρίσκεται σε κβαντική υπέρθεση, είναι περισσότερα από ένα πράγμα ταυτόχρονα, και η παρατήρηση ενός τέτοιου αντικείμενο το επηρεάζει.

Μπορείτε να κατεβάσετε δωρεάν το παιχνίδι qCraft ΕΔΩ

http://qcraft.org/

Σκοπός του παιχνιδιού, πέρα από τη διασκέδαση, είναι η εξοικείωση του παίκτη με συγκεκριμένα κβαντικά φαινόμενα. Κι αν ο παίκτης είναι ένα μικρό παιδί (που πιθανόν στο μέλλον να ασχοληθεί με την κβαντική φυσική και κβαντικούς υπολογιστές) τότε το κέρδος θα είναι πολύ μεγαλύτερο, όσον αφορά την διαισθητική κατανόηση των κβαντικών εννοιών.

ένα βίντεο με σχολιασμό των κβαντικών δομών του παιχνιδιού qCraft: “Schrödinger’s Ocelot: Behind the Scenes“

Όπως έγραψε ο John Preskill στο twitter, oι φυσικοί του 21ου αιώνα που παίζανε κβαντικά παιχνίδια στην παιδική τους ηλικία, δεν θα μπορούν να πιστέψουν ότι οι φυσικοί του 20ου αιώνα θεωρούσαν την κβαντική φυσική αλλόκοτη!

Το σίγουρο είναι ότι η κβαντική φυσική βρίσκεται ξανά στο προσκήνιο, εξαιτίας της εξέλιξης των κβαντικών υπολογιστών. Οι μελλοντικοί τεχνικοί και προγραμματιστές αυτών των υπολογιστών θα πρέπει να κατανοούν

τι είναι το qubit (η βασική μονάδα μνήμης των κβαντικών υπολογιστών, που μπορεί να βρίσκεται όχι μόνο στις καταστάσεις 0 και 1 αλλά και σε κάθε δυνατή επαλληλία),

ή τι ρόλο παίζουν οι κβαντικές πύλες CNOT , Ηadamard , Χ , Ζ , κ. λπ.

Και όλα αυτά απαιτούν πολύ καλή γνώση της κβαντομηχανικής.

Παιχνίδια σαν το qCraft προφανώς δεν διδάσκουν κβαντική φυσική στα μικρά παιδιά – αυτό έτσι κι αλλιώς είναι αδύνατον προς το παρόν – “προετοιμάζουν” όμως την διαίσθησή τους όσον αφορά τις περίεργες κβαντικές έννοιες που θα συναντήσουν στις μελλοντικές σπουδές τους.

Οι κβαντικοί υπολογιστές αναμένεται να επιλύσουν προβλήματα που μέχρι τώρα θεωρούνταν άλυτα και γι αυτό θα κυριαρχήσουν τον 21ο αιώνα. Έτσι, η Google, εκτός από τα κβαντομηχανικά τουβλάκια τoυ παιχνιδιού qCraft, επενδύει σε συνεργασία με τη NASA, και στην ανάπτυξη του κβαντικού υπολογιστή D-Wave II (μάλιστα πριν από ένα μήνα περίπου ανακοινώθηκε, ότι αυτός ο κβαντικός υπολογιστής έλυσε ένα δύσκολο μαθηματικό πρόβλημα.

To βίντεο που ακολουθεί, σχετικό με τους κβαντικούς υπολογιστές, εμφανίστηκε στο κανάλι της Google πριν από μερικές μέρες:

 

http://physicsgg.me/2013/10/23/%ce%bc%cf%80%ce%bf%cf%81%ce%b5%ce%af-%ce%ad%ce%bd%ce%b1-%cf%80%ce%b1%ce%b9%cf%87%ce%bd%ce%af%ce%b4%ce%b9-%ce%bd%ce%b1-%ce%b4%ce%b9%ce%b4%ce%ac%ce%be%ce%b5%ce%b9-%ce%ba%ce%b2%ce%b1%ce%bd%cf%84%ce%b9/

Ο πλανήτης μας ειναι το λίκνο της ανθρωπότητας.Αλλα κανείς δεν περνάει ολη του τη ζωή στο λίκνο.

Κονσταντίν Εντουάρντοβιτς Τσιολκόφσκι.

  • 3 εβδομάδες αργότερα...
Δημοσιεύτηκε

Σαν σήμερα: 12 Νοεμβρίου. :cheesy:

1990: Ο άγγλος επιστήμονας Τίμοθι Μπέρνερς-Λι εφηύρε τον Παγκόσμιο Ιστό (World Wide Web)

104458101_-.jpg.9857967c0b8767fd87760c3bd93ed2fc.jpg

Ο πλανήτης μας ειναι το λίκνο της ανθρωπότητας.Αλλα κανείς δεν περνάει ολη του τη ζωή στο λίκνο.

Κονσταντίν Εντουάρντοβιτς Τσιολκόφσκι.

Δημοσιεύτηκε

Δύο σημαντικά βήματα προς την επανάσταση των κβαντικών υπολογιστών. :cheesy:

Διεθνείς ερευνητικές ομάδες παρουσιάζουν στις κορυφαίες εκδόσεις Science και Nature δύο σημαντικά επιτεύγματα στο δρόμο προς τους λεγόμενους κβαντικούς υπολογιστές και το κβαντικό Διαδίκτυο.

Κατάφεραν να διατηρήσουν ένα σύστημα κβαντικής μνήμης σταθερό σε θερμοκρασία δωματίου, αλλά και να αναπτύξουν ένα μαγνητικό μέσο αποθήκευσης στο οποίο κάθε bit αντιστοιχεί σε ένα μόνο άτομο.

Στους σημερινούς υπολογιστές, κάθε bit πληροφορίας μπορεί να βρίσκεται είτε στην κατάσταση «0» είτε στην κατάσταση «1». Στους κβαντικούς υπολογιστές, όμως, κάθε κβαντικό bit ή qubit μπορεί να παίρνει τις τιμές «0» και «1» ταυτόχρονα, χάρη σε ένα αλλόκοτο κβαντικό φαινόμενο που ονομάζεται υπέρθεση.

Και αυτή η ικανότητα των qubit να βρίσκονται σε δύο καταστάσεις θα επέτρεπε στους κβαντικούς υπολογιστές να εκτελούν πολλούς υπολογισμούς ταυτόχρονα.

Ένα από τα βασικά προβλήματα στην ανάπτυξη τέτοιων υπολογιστών είναι ότι τα qubit είναι εξαιρετικά ασταθή, δηλαδή έχουν την τάση να χάνουν την αρχική κβαντική τους κατάσταση και μετατρέπονται σε απλά «0» ή «1».

Μελέτη που δημοσιεύεται από διεθνή ερευνητική ομάδα στο τελευταίο τεύχος του Science αυξάνει τώρα σημαντικά το χρόνο ζωής των qubit.

http://www.sciencemag.org/content/342/6160/830

Οι καταστάσεις υπέρθεσης στο πειραματικό σύστημα διατηρήθηκαν αναλλοίωτες σε θερμοκρασία δωματίου για το χρόνο ρεκόρ των 29 λεπτών, συγκριτικά με μόλις 2 δευτερόλεπτα στον προηγούμενο κάτοχο του ρεκόρ.

Οι ερευνητές κωδικοποίησαν πληροφορίες σε άτομα φωσφόρου, τα οποία είχαν τοποθετηθεί σε μια πλάκα από πυρίτιο από το οποίο είχε πρώτα απομακρυνθεί κάθε ακαθαρσία που θα μπορούσε να διαταράξει τη μαγνητική κατάσταση των ατόμων.

Τα άτομα έχουν μια εγγενή ιδιότητα που ονομάζεται ιδιοστροφορμή ή σπιν και τα κάνει να συμπεριφέρονται ουσιαστικά σαν μικροσκοπικοί μαγνήτες. Ανάλογα με το πού είναι στραμμένοι οι πόλοι του μαγνήτη, το spin μπορεί να παίρνει τιμές «0» ή «1» ή να παίρνει κλίση ανάμεσα σε αυτές τις δύο καταστάσεις, οπότε υπάρχει υπέρθεση των καταστάσεων «0» και «1».

Χρησιμοποιώντας τα κατάλληλα μαγνητικά πεδία, οι ερευνητές ανάγκασαν το σπιν των ατόμων φωσφόρου να πάρει κλίση και να δημιουργήσει έτσι μια υπέρθεση δύο καταστάσεων. Το πείραμα έδειξε ότι η υπέρθεση έμενε σταθερή για τρεις ώρες σε θερμοκρασία -269 βαθμών Κελσίου και για 29 λεπτά σε θερμοκρασία 25 βαθμών -χρόνος θεωρητικά αρκετός για εκατομμύρια υπολογισμούς.

«Αυτοί οι χρόνοι ζωής είναι δεκαπλάσιοι σε σχέση με προηγούμενα πειράματα. Αναπτύξαμε ένα σύστημα που φαίνεται να μην έχει καθόλου θόρυβο. Πρόκειται για qubit υψηλής απόδοσης» σχολίασε η Στέφανι Σίμονς του Πανεπιστημίου της Οξφόρδης, μέλος της ερευνητικής ομάδας.

Στην πραγματικότητα όμως όλα τα qubit του συστήματος βρίσκονταν στις ίδιες καταστάσεις. Επόμενο βήμα θα είναι να πραγματοποιήσει το σύστημα υπολογισμούς τοποθετώντας διαφορετικά qubit σε διαφορετικές καταστάσεις.

Στη δεύτερη μελέτη, η οποία παρουσιάζεται στο Nature,

http://www.nature.com/nature/journal/v503/n7475/full/nature12759.html

ερευνητές του Ινστιτούτου Τεχνολογίας της Καρλσρούης, αναφέρουν ότι κατάφεραν αν διατηρήσουν σταθερό για δέκα λεπτά ένα bit που αποτελούνταν από ένα και μόνο άτομο.

Στις σημερινές μαγνητικές μνήμες, όπως για παράδειγμα οι σκληροί δίσκοι, κάθε bit πληροφορίας πρέπει να αποτελείται από εκατομμύρια άτομα προκειμένου να διατηρεί σταθερή την κατάστασή του ως «0» ή «1».

«Ένα μεμονωμένο άτομο, τοποθετημένο σε ένα υπόστρωμα, είναι τόσο ευαίσθητο ώστε ο μαγνητικός προσανατολισμός του [το σπιν] είναι σταθερό μόνο για κλάσματα του μικροδευτερολέπτου» επισημαίνει ο Βουλφ Βούλφχεκελ, επικεφαλής της έρευνας.

Η λύση ήταν να τοποθετηθεί ένα άτομο του εξωτικού στοιχείου όλμιου πάνω σε ένα υπόστρωμα από πλατίνα. Ο συνδυασμός των δύο συγκεκριμένων υλικών εξουδετέρωσε τις αλληλεπιδράσεις του bit με το υπόστρωμα και διατήρησε σταθερό το spin του ατόμου για δέκα λεπτά.

Ο χρόνος αυτός «είναι περίπου ένα δισεκατομμύριο φορές μεγαλύτερος από ό,τι σε άλλα, συγκρίσιμα ατομικά συστήματα» υπερηφανεύεται ο Βούλφχεκελ.

Επόμενο στάδιο θα είναι να εγγραφούν πληροφορίες στην ατομική μνήμη με τη χρήση εξωτερικών μαγνητικών πεδίων. Στο απώτερο μέλλον, η νέα προσέγγιση θα μπορούσε να αυξήσει την πυκνότητα των δεδομένων στα μαγνητικά μέσα αποθήκευσης ή ακόμα να αξιοποιηθεί σε κβαντικούς υπολογιστές.

http://news.in.gr/science-technology/article/?aid=1231273652

bit.jpg.0e5dfd3508a0470547511b7e11381c44.jpg

Ο πλανήτης μας ειναι το λίκνο της ανθρωπότητας.Αλλα κανείς δεν περνάει ολη του τη ζωή στο λίκνο.

Κονσταντίν Εντουάρντοβιτς Τσιολκόφσκι.

Δημοσιεύτηκε

Κβαντικό τρικ. :cheesy:

Όλες πρακτικά οι μέθοδοι ανίχνευσης του φωτός προϋποθέτουν τη σύλληψη και την καταστροφή των φωτονίων που ανιχνεύονται. Εξάλλου, μια από τις βασικές αρχές της κβαντομηχανικής προβλέπει ότι είναι αδύνατο να παρατηρήσει κανείς ένα υποατομικό σωματίδιο χωρίς ταυτόχρονα να το επηρεάσει.

Κι όμως, υπάρχει ένα κβαντικό τρικ που επιτρέπει την καταγραφή μεμονωμένων φωτονίων αφήνοντάς τα ανεπηρέαστα.

Ένα τρικ που θα μπορούσε να αξιοποιηθεί στους κβαντικούς υπολογιστές και τα κβαντικά δίκτυα του μέλλοντος.

Ο συμβατικός τρόπος για την ανίχνευση ενός φωτονίου είναι η απορρόφησή του από έναν ανιχνευτή, κάτι που συνεπάγεται την καταστροφή του ίδιου του φωτονίου. Μια νέα τεχνική, η οποία παρουσιάζεται στο περιοδικό Science, επέτρεψε στους ερευνητές να παρατηρήσουν ένα διερχόμενο φωτόνιο χωρίς να γίνουν αντιληπτοί.

http://www.sciencemag.org/content/early/2013/11/15/science.1246164

Το επίτευγμα, το οποίο βασίζεται σε ένα αλλόκοτο κβαντικό φαινόμενο που ονομάζεται υπέρθεση, θα μπορούσε να αποδειχθεί κρίσιμης σημασίας στα οπτικά κβαντικά δίκτυα, στα οποία οι πληροφορίες μεταδίδονται κωδικοποιημένες στις κβαντικές καταστάσεις μεμονωμένων φωτονίων. Για παράδειγμα, η νέα μέθοδος θα μπορούσε να επιβεβαιώνει την άφιξη των φωτονίων σε έναν αποδέκτη χωρίς ωστόσο να παραβιάζει τα δεδομένα που προορίζονται για τον αποδέκτη αυτόν.

Η ερευνητική ομάδα στο Ινστιτούτο Κβαντικής Οπτικής Μax Plank της Γερμανίας δημιούργησε μια «οπτική κοιλότητα», αποτελούμενη από δύο καθρέπτες, οι οποίοι κοιτούσαν ο ένας τον άλλο σε απόσταση μισού χιλιοστού. Οι καθρέπτες μπορούσαν να παγιδεύουν ανάμεσά τους φωτόνια με συγκεκριμένες ενέργειες, φωτόνια με τα οποία μπορούσαν να «συντονιστούν».

Μέσα σε αυτή την κοιλότητα είχε τοποθετηθεί ένα άτομο που βρισκόταν σε μια «υπέρθεση» κβαντικών καταστάσεων, βρισκόταν δηλαδή σε δύο διαφορετικές καταστάσεις ταυτόχρονα. Στη μία από αυτές τις καταστάσεις, το άτομο ήταν συντονισμένο με τους καθρέπτες και δεν άφηνε φωτόνια να εισέλθουν στην κοιλότητα. Τα εισερχόμενα φωτόνια απλώς ανακλώνταν στη συσκευή και συνέχιζαν την πορεία τους.

Στην άλλη κατάσταση της υπέρθεσης, όμως, τα φωτόνια ήταν ελεύθερα να εισέλθουν, οπότε αλληλεπιδρούσαν με το άτομο στο κέντρο και άφηναν τα ίχνη τους σε αυτό -ίχνη που πρόδιδαν ότι ένα φωτόνιο είχε μόλις περάσει από τη συσκευή.

Με άλλα λόγια, στο ένα από τα δύο παράλληλα σύμπαντα της κβαντικής υπέρθεσης, το εισερχόμενο φωτόνιο δεν καταστρεφόταν και μπορούσε να συνεχίσει την πορεία του, αφού η διέλευσή του δεν είχε γίνει αντιληπτή. Σε μια παράλληλη πραγματικότητα, όμως, είχε απορροφηθεί και είχε καταγραφεί.

Και η μεταβολή στα σήματα που έδινε η συσκευή ενημέρωνε τους ερευνητές για τη διέλευση των φωτονίων, χωρίς όμως να επηρεάζεται η κβαντική κατάσταση του ίδιου του φωτός.

Παρόμοιες «μη καταστροφικές» μέθοδοι καταγραφής φωτονίων είχαν παρουσιαστεί και στο παρελθόν. Το σημαντικό με τη νέα τεχνική είναι όμως ότι λειτουργεί στα μήκη κύματος του φωτός που χρησιμοποιούνται ήδη στις οπτικές επικοινωνίες.

Το εντυπωσιακό μάλιστα είναι ότι η νέα μέθοδος είναι εξαιρετικά αξιόπιστη: αντιλαμβάνεται τη διέλευση μεμονωμένων φωτονίων στο 74% των περιπτώσεων, συγκριτικά με μόλις 60% στους σημερινούς ανιχνευτές φωτός που καταστρέφουν ό,τι ανιχνεύουν.

http://news.in.gr/science-technology/article/?aid=1231273798

Ο πλανήτης μας ειναι το λίκνο της ανθρωπότητας.Αλλα κανείς δεν περνάει ολη του τη ζωή στο λίκνο.

Κονσταντίν Εντουάρντοβιτς Τσιολκόφσκι.

Δημοσιεύτηκε

«Δισδιάστατος τσίγκος», νέος υποψήφιος διάδοχος του πυριτίου. :cheesy:

Μια πρωτοποριακή τσίγκινη λαμαρίνα, η οποία πάχος ενός μόλις ατόμου, άγει τον ηλεκτρισμό με απόδοση 100%, και θα μπορούσε στο μέλλον να διαδεχθεί το πυρίτιο στα ηλεκτρονικά κυκλώματα.

Η νέα μορφή του κασσίτερου βαφτίστηκε «στανένιο», ένας συνδυασμός του stannum, της λατινικής λέξης για τον κασσίτερο, με την κατάληξη «-ένιο» που χρησιμοποιείται και για το γραφένιο -μια μορφή του άνθρακα που έχει επίσης τη μορφή φύλλων με πάχος ενός ατόμου.

Επειδή τα φύλλα αυτά έχουν αμελητέο πάχος ονομάζονται συχνά και «δισδιάστατα» υλικά.

Ερευνητές του Πανεπιστημίου του Στάνφορντ και του αμερικανικού υπουργείου Ενέργειας παρουσιάζουν τώρα θεωρητικούς υπολογισμούς που δείχνουν ότι το στανένιο θα ήταν ιδανικό για τη βιομηχανία ημιαγωγών.

Σύμφωνα με τη μελέτη, η οποία δημοσιεύεται στο Physical Review Letters,

http://prl.aps.org/abstract/PRL/v111/i13/e136804

ο δισδιάστατος κασσίτερος θα πρέπει να συμπεριφέρεται ως «τοπολογικός μονωτής». Τα υλικά αυτής της κατηγορίας επιτρέπουν τη διέλευση ηλεκτρικού ρεύματος μόνο στις άκρες τους ή στην εξωτερική τους επιφάνεια, όχι όμως από το εσωτερικό τους. Όταν μάλιστα οι τοπολογικοί μονωτές έχουν πάχος ενός ατόμου, άγουν τον ηλεκτρισμό με απόδοση 100%.

Οι ασυνήθιστες ιδιότητες των τοπολογικών μονωτών προκύπτουν από περίπλοκες αλληλεπιδράσεις ανάμεσα στα ηλεκτρόνια και τα βαρέα μέταλλα που συνήθως περιέχουν αυτά τα υλικά. Οι υπολογισμοί των ερευνητών δείχνουν τώρα ότι ο κασσίτερος θα ήταν ιδανικό υλικό, καθώς θα λειτουργούσε ως τοπολογικός μονωτής σε θερμοκρασία δωματίου.

Εφόσον οι προβλέψεις της μελέτης επιβεβαιωθούν με εργαστηριακά πειράματα, ο δισδιάστατος τσίγκος θα μπορούσε αρχικά να χρησιμοποιηθεί στα μικροσκοπικά καλώδια που συνδέουν στοιχεία του ίδιου ηλεκτρονικού τσιπ.

Αργότερα θα μπορούσε να αντικαταστήσει πλήρως το πυρίτιο, αρκεί να βρεθεί τρόπος να μην υπερβαίνει ποτέ σε πάχος το ένα άτομο και να μην φθείρεται από τις μεθόδους παραγωγής που εφαρμόζει η βιομηχανία ημιαγωγών.

Η αλήθεια είναι βέβαια ότι υπάρχουν κι άλλα υλικά που θα μπορούσαν να διαδεχθούν το πυρίτιο, όπως το γραφένιο και οι νανοσωλήνες άνθρακα.

http://news.in.gr/science-technology/article/?aid=783527

Όπως όμως προβλέπει ο Σουσένγκ Ζανγκ του Στάνφορντ, μέλος της ερευνητικής ομάδας, η Κοιλάδα του Πυριτίου (Silicon Valley) θα μπορούσε μια μέρα να αντικατασταθεί από την Κοιλάδα του Τσίγκου.

http://news.in.gr/science-technology/article/?aid=1231275613

Ο πλανήτης μας ειναι το λίκνο της ανθρωπότητας.Αλλα κανείς δεν περνάει ολη του τη ζωή στο λίκνο.

Κονσταντίν Εντουάρντοβιτς Τσιολκόφσκι.

Δημοσιεύτηκε

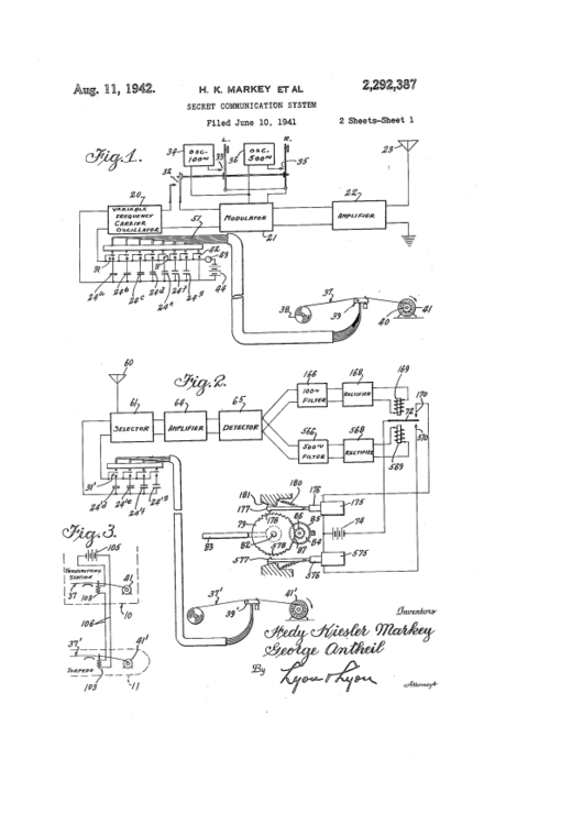
Στο μυαλό της Χέντι Λαμάρ. :cheesy:

Κάποιοι θυμούνται τη Hedy Lamarr (Χέντι Λαμάρ 1913-2000), τη χολιγουντιανή σταρ σπάνιας ομορφιάς, που μεσουράνησε στον κινηματογράφο τις δεκαετίες ’30, ’40 και ’50 από κάποιες ταινίες της, ίσως και από τη γνωστή φράση της: «Κάθε κορίτσι μπορεί να γίνει διάσημο και να αποκτήσει λάμψη. Αρκεί να στέκεται ακίνητη και να δείχνει ηλίθια». Η ίδια δεν έμεινε στην ιστορία μόνο για την ομορφιά της, τις ατάκες και τις υποκριτικές τις ικανότητες, ούτε επειδή συνειδητοποίησε νωρίς, τη ματαιότητα της εφήμερης δόξας.

Η Χέντι Λαμάρ ήταν η γυναίκα εφευρέτης, που το δημιουργικό μυαλό της μας χάρισε την κινητή τηλεφωνία και την ασύρματη σύνδεση των υπολογιστών που απολαμβάνουμε σήμερα. =D>

Στον κόσμο της επιστήμης είναι γνωστή ως μία από τους εφευρέτες της πρώτης μορφής των μεθόδων διασποράς φάσματος, της βασικής, δηλαδή, τεχνολογίας που οδήγησε στην ανάπτυξη των σύγχρονων ασύρματων τηλεπικοινωνιών. =D>

Ας δούμε, όμως, συνοπτικά, την πορεία της και την επιστημονική της προσφορά. Μετά το ξέσπασμα του Παγκοσμίου Πολέμου, η αυστριακής καταγωγής Χέντι Λαμάρ βρέθηκε στη Αμερική. Ως παθιασμένη εχθρός του ναζισμού, θέλησε να συμβάλει στη προσπάθεια των συμμάχων να αντιμετωπίσουν τα σκοτεινά σχέδια του Χίτλερ. Το αντιναζιστικό της πάθος ζωήρεψε νωρίς, τα χρόνια που ζούσε στη Γερμανία. Εκεί γνώρισε από κοντά τον κύκλο των ναζί, μέσω του πρώτου συζύγού της Φριτς Μαντλ, ο οποίος υπήρξε γνωστός έμπορος όπλων και συνεργάτης του Χίτλερ και του Μουσολίνι. Ως πρώην κυρία Μαντλ είχε παρακολουθήσει από κοντά τις συζητήσεις και τις προθέσεις των Ναζί να δημιουργήσουν τηλεκατευθυνόμενες τορπίλες.

Όταν εκείνη κατάφερε να το σκάσει και να βρεθεί στην Αμερική, σκέφτηκε να αξιοποιήσει όσα γνώριζε και να σαμποτάρει τα σχέδια των ναζί. Σε αυτές τις περιπτώσεις, δεν αρκούν οι προθέσεις. Η Λαμάρ, ως ανήσυχο και δημιουργικό πνεύμα, είχε τη δύναμη και την ευφυΐα να επινοήσει μαζί με τον συνθέτη Τζορτζ Άνθεϊλ (Antheil) μια «έξυπνη» συσκευή αναπήδησης συχνοτήτων, ένα σύστημα κρυφής επικοινωνίας, που θα μπορούσε να εναλλάσσει ένα σήμα μεταξύ 88 διαφορετικών συχνοτήτων, να αποκρύπτει από τα ραντάρ του εχθρού τις τηλεκατευθυνόμενες τορπίλες και να μειώνει, κατά πολύ, τις πιθανότητες παρεμβολών.

Η ιδέα της Χέντι Λαμάρ για την εναλλαγή των συχνοτήτων δεν αξιοποιήθηκε τότε. Αποτέλεσε, όμως, τη βάση για την ανάπτυξη της διασποράς φάσματος στη νέα τεχνολογία, η οποία αξιοποιείται, σήμερα, σε ένα ευρύτατο φάσμα συσκευών, από τα κινητά τηλέφωνα μέχρι τις ασύρματες ευρυζωνικές συνδέσεις.

Η κινηματογραφική καριέρα της Χέντι Λαμάρ υπήρξε ανάλογη της προσωπικότητάς της. Ήταν από τις πρώτες γυναίκες που εμφανίστηκαν γυμνές και υποκρίθηκαν οργασμό στη μεγάλη οθόνη στην ταινία του 1932 «Έκσταση», ενώ ανάμεσα στις μεγάλες κινηματογραφικές τις επιτυχίες συγκαταλέγεται και ο πρωταγωνιστικός της ρόλος στην θρυλική ταινία Σαμψών και Δαλιδά που γύρισε το 1949 ο Σεσίλ ντε Μιλ.

Στις φωτογραφίες διάγραμμα συστήματος κρυφής επικοινωνίας. Μια εφεύρεση που υπογάφεται από τον Antheil George και την Markey Hedy Kiesler (έτσι ονομαζόταν τότε η Hedy Lamarr)

Βίντεο.

http://www.youtube.com/watch?v=YdmpsU_GwRo

 

To άρθρο που ακολουθεί δημοσιεύθηκε στην εφημερίδα ΤΟ ΒΗΜΑ στις 30/01/2000

http://www.tovima.gr/culture/article/?aid=118761

 

http://physicsgg.me/2013/11/27/%cf%83%cf%84%ce%bf-%ce%bc%cf%85%ce%b1%ce%bb%cf%8c-%cf%84%ce%b7%cf%82-%cf%87%ce%ad%ce%bd%cf%84%ce%b9-%ce%bb%ce%b1%ce%bc%ce%ac%cf%81/

2125277952_HedyLamarr.jpg.0cb672a9759758ab771dd18c898d87a1.jpg

lamarr1.thumb.png.9a36ed7411ff7f0c77275262a8b26e9b.png

lamarr.thumb.png.4eb5ab482946235873bbd395176165b5.png

.jpg.5b93ee65aef2e5f1ddb521f6474beb63.jpg

Ο πλανήτης μας ειναι το λίκνο της ανθρωπότητας.Αλλα κανείς δεν περνάει ολη του τη ζωή στο λίκνο.

Κονσταντίν Εντουάρντοβιτς Τσιολκόφσκι.

  • 3 εβδομάδες αργότερα...
Δημοσιεύτηκε

Το 36% των Ελλήνων δεν έχουν χρησιμοποιήσει ποτέ το διαδίκτυο. :cheesy:

Ουραγός στη χρήση του internet εμφανίζεται η Ελλάδα , καθώς υπολείπεται του μέσου όρους της ΕΕ των «28» σε πολλά ποιοτικά στοιχεία.

Σύμφωνα με την έρευνα της Eurostat, περίπου το 1/3 ή και περισσότερο των ατόμων σε Ρουμανία (42%), Βουλγαρία (41%), Ελλάδα (36%), Ιταλία (34%), Πορτογαλία (33%), Κύπρο (32%) και Πολωνία (32%) δεν έχουν χρησιμοποιήσει ποτέ το διαδίκτυο.

Στην ΕΕ των «28», το 79% των νοικοκυριών είχε πρόσβαση στο διαδίκτυο το 2013 και το 76% είχε ευρυζωνική σύνδεση στο internet, σε σύγκριση με 55% και 42% αντίστοιχα το 2007.

Για τα περισσότερα άτομα η χρήση του διαδικτύου έχει γίνει μια τακτική δραστηριότητα, με το 62% των ατόμων να το χρησιμοποιούν κάθε μέρα ή σχεδόν κάθε μέρα και ένα επιπλέον 10% τουλάχιστον μία φορά την εβδομάδα.

Από την άλλη, το 21% των πολιτών ανέφεραν ότι δεν έχουν χρησιμοποιήσει ποτέ το internet σε σύγκριση με 37% το 2007.

Όσον αφορά στη χρήση του internet στο πλαίσιο της ηλεκτρονικής διακυβέρνησης, το 41% των ατόμων στην ΕΕ έχει χρησιμοποιήσει το διαδίκτυο για συναλλαγές με τις δημόσιες αρχές ή υπηρεσίες το 2013.

Κυρίως για φορολογικές δηλώσεις (44%), αιτήσεις έκδοσης προσωπικών έγγραφων (20%), χορήγηση επιδομάτων κοινωνικής ασφάλισης (16%), αλλά και εγγραφή στην τριτοβάθμια εκπαίδευση ή πανεπιστήμιο (9%) .

Το επίπεδο πρόσβασης σήμερα στο δαδίκτυο κυμαίνεται από 54% των νοικοκυριών στη Βουλγαρία έως 95% στην Ολλανδία.

Στα περισσότερα κράτη-μέλη, το ποσοστό πρόσβασης στο διαδίκτυο ήταν υψηλό το 2013 , με μερίδιο άνω του 90% στην Ολλανδία (95% των νοικοκυριών), το Λουξεμβούργο (94%), στη Δανία και στη Σουηδία (93%).

Τα χαμηλότερα ποσοστά καταγράφηκαν σε Βουλγαρία (54% ), Ελλάδα (56%) και Ρουμανία (58%).

Το 2013, σε κάθε κράτος μέλος τουλάχιστον το ήμισυ των νοικοκυριών διέθετε ευρυζωνική σύνδεση, δηλαδή γρήγορο internet. Στη Φινλανδία το ποσοστό αυτό ήταν στο 88% και στη Γερμανία στο 85%.

Η πλειοψηφία των ατόμων που χρησιμοποιούν το διαδίκτυο κάθε μέρα ή σχεδόν κάθε μέρα στη Δανία ανέρχεται στο 84%, στην Ολλανδία 83%, στο Λουξεμβούργο 82%, στη Σουηδία 81%, στη Φινλανδία 80% και στο Ηνωμένο Βασίλειο 78%.

Τα υψηλότερα ποσοστά των ατόμων που ανέφεραν ότι χρησιμοποίησαν το διαδίκτυο τουλάχιστον μία φορά την εβδομάδα, αλλά όχι κάθε μέρα, καταγράφονται στην Τσεχία (16%)μ στην Εσθονία, την Ιρλανδία και την Αυστρία (14%).

Περίπου το 1/3 ή και περισσότερο των ατόμων σε Ρουμανία (42%), Βουλγαρία (41%), Ελλάδα (36%), Ιταλία (34%), Πορτογαλία (33%), Κύπρο (32%) και Πολωνία (32%) δεν έχουν χρησιμοποιήσει ποτέ το διαδίκτυο, ενώ σε έξι κράτη-μέλη το ποσοστό αυτό ήταν κάτω από 10%.

http://news.in.gr/science-technology/article/?aid=1231281738

Ο πλανήτης μας ειναι το λίκνο της ανθρωπότητας.Αλλα κανείς δεν περνάει ολη του τη ζωή στο λίκνο.

Κονσταντίν Εντουάρντοβιτς Τσιολκόφσκι.

Δημοσιεύτηκε

Χάρη μετά θάνατον στον μαθηματικό Aλαν Τιούρινγκ :cheesy:

Αν και ο μαθηματικός Άλαν Τιούρινγκ έχει ουσιαστικά αποκατασταθεί πλήρως στη μνήμη της Βρετανίας και της υφηλίου τόσο μετά το κεντρικής σημασίας έργο του στο Δεύτερο Παγκόσμιο όσο και λόγω της κληρονομιάς του στα μαθηματικά και την πληροφορική, το βρετανικό Στέμμα προχώρησε -έστω και καθυστερημένα- σε απονομή επίσημης χάριτος για την καταδίκη του για «κιναιδισμό».

Ο μαθηματικός, που είχε κεντρικό ρόλο στην αποκρυπτογράφηση του ναζιστικού Enigma

(Περισσότερα στην δημοσίευση στις 25/7/2013-Σελ.5)

και έθεσε τα θεμέλια της ανάλυσης της τεχνητής νοημοσύνης, είχε αυτοκτονήσει το 1954. Αν και είχε συμβάλει τα μέγιστα στην ενίσχυση της βρετανικής θέσης έναντι του Ράιχ (για κάποιους, το έργο του ίσως μπορεί να κριθεί καθοριστικό για την έκβαση του πολέμου) και έσωσε αμέτρητες ζωές, είχε ένα... «πρόβλημα»: Ήταν ομοφυλόφιλος.

Η αναγνώριση του έργου του δεν εμπόδισε τις βρετανικές αρχές να τον καταδικάσουν το 1952 για τη σεξουαλική του σχέση με άλλον άνδρα -κάτι που στη Βρετανία ήταν παράνομο- και να τον υποβάλλουν, πέραν του «ξηλώματός» του και της παρακολούθησής του, σε «θεραπεία» με οιστρογόνα που θα αδρανοποιούσαν τις γενετήσιες του ορμές. ](*,) ](*,) ](*,)

Λιγότερο ταπεινωμένος και μάλλον περισσότερο αγανακτισμένος (δεν είχε κάνει ιδιαίτερο κόπο να κρύψει τις σεξουαλικές του προτιμήσεις), ο Τιούρινγκ αυτοκτόνησε το 1954.

«Ο Τιούρινγκ ήταν ένας εξαιρετικός άνθρωπος και ένα ιδιοφυές μυαλό» ανέφερε ο υπουργός Δικαιοσύνης Κρις Γκρέιλινγκ, σε ανακοίνωσή του για την επίσημη απονομή χάριτος από τη βασίλισσα Ελισάβετ.

«Οι πράξεις του έσωσαν άπειρες ζωές και άφησε μία αξιοσημείωτη κληρονομιά μέσω των επιστημονικών του επιτευγμάτων» σχολίασε και ο βρετανός πρωθυπουργός Ντέιβιντ Κάμερον.

http://www.tovima.gr/world/article/?aid=551950

337024523_A.jpg.0e70985f3722d5c0405db7962b8f5231.jpg

Ο πλανήτης μας ειναι το λίκνο της ανθρωπότητας.Αλλα κανείς δεν περνάει ολη του τη ζωή στο λίκνο.

Κονσταντίν Εντουάρντοβιτς Τσιολκόφσκι.

  • 2 εβδομάδες αργότερα...
Δημοσιεύτηκε

Κβαντικό «σούπερ» υπολογιστή θέλει να φτιάξει η NSA. :cheesy:

Η αμερικανική υπηρεσία πληροφοριών NSA προσπαθεί να αναπτύξει έναν κβαντικό υπολογιστή που θα μπορεί να σπάσει κάθε επιπέδου κρυπτογράφηση, σύμφωνα με έγγραφα που επικαλείται Washington Post από το «φάκελο Σνόουντεν».

Η ανάπτυξη κβαντικού υπολογιστή θεωρείται κατά γενική ομολογία ο στόχος για το επόμενο βήμα στην πληροφορική, αλλά η εφημερίδα υποστηρίζει πως η NSA δεν βρίσκεται πιο κοντά στην επίτευξή του από άλλους ερευνητές.

H θεωρητική ανάπτυξη ενός τέτοιου υπολογιστή θα έδινε στην υπηρεσία τη δυνατότητα να σπάει με ευκολία την κρυπτογράφηση με την οποία προστατεύονται τραπεζικά στοιχεία, ιατρικά αρχεία και κρατικά δεδομένα.

Σύμφωνα με τα έγγραφα που επικαλείται η εφημερίδα, η έρευνα γύρω από την ανάπτυξη ενός τέτοιου «υπερ-υπολογιστή» είναι μέρος του ερευνητικού προγράμματος της NSA με τίτλο «Διείσδυση σε σκληρούς στόχους» και κόστος 79,7 εκατ. δολάρια.

Η επιστημονική και ερευνητική κοινότητα έκανε εδώ και καιρό αρκετές εικασίες για το εάν η NSA είχε κάνει προόδους στην ανάπτυξη κβαντικών υπολογιστικών μηχανών.

Τα έγγραφα που επικαλείται η εφημερίδα δεν δίνουν την εντύπωση ότι η υπηρεσία βρίσκεται σημαντικά πιο κοντά στον στόχο από τις υπόλοιπες ερευνητικές ομάδες (οι οποίες, σύμφωνα με τα έγγραφα της NSA, βρίσκονται εκτός των ΗΠΑ, στην Ελβετία και την ΕΕ).

http://news.in.gr/world/article/?aid=1231284574

.jpg.2902108d50a6855cd589a9ab33e0f20b.jpg

Ο πλανήτης μας ειναι το λίκνο της ανθρωπότητας.Αλλα κανείς δεν περνάει ολη του τη ζωή στο λίκνο.

Κονσταντίν Εντουάρντοβιτς Τσιολκόφσκι.

  • 3 εβδομάδες αργότερα...
Δημοσιεύτηκε

Σύνδεση οπτικών ινών εκτοξεύει την ταχύτητα στα 1,4 terabit/sec :cheesy:

Πειραματική σύνδεση που δοκίμασαν στη Βρετανία η British Telecom και η Alcatel-Lucent αυξάνει την ταχύτητα μετάδοσης στα 1,4 Tbit/sec χωρίς να απαιτεί μεγάλη αναβάθμιση στα υφιστάμενα δίκτυα οπτικών ινών.

Η ταχύτητα που προσφέρει η νέα προσέγγιση θα επέτρεπε το κατέβασμα 44 ασυμπίεστων ταινιών HD σε ένα δευτερόλεπτο. =D> =D> =D>

Τα δεδομένα της δοκιμής μεταδόθηκαν σε μια σύνδεση 410 χιλιομέτρων που συνδέει τον πύργο της BT στο κεντρικό Λονδίνο με τα ερευνητικά εργαστήρια της εταιρείας στο Σάφολκ.

Ακόμα υψηλότερες ταχύτητες είναι δυνατές σε πειραματικά οπτικά δίκτυα, σύμφωνα όμως με τη BΤ και την Alcatel-Lucent, η ταχύτητα που καταγράφηκε στη δοκιμή «είναι η υψηλότερη που έχει επιτευχθεί ποτέ με υλικό εμπορικής κλάσης και σε περιβάλλον πραγματικών συνθηκών». Η δοκιμή αξιοποίησε επτά κανάλια των 200 Gbit/sec, τα οποία στριμώχτηκαν στην ίδια σύνδεση χάρη σε μια τεχνολογία που μειώνει τις αποστάσεις μεταξύ τους στο ηλεκτρομαγνητικό φάσμα.

Η νέα προσέγγιση θα επέτρεπε στους παρόχους να αυξάνουν το εύρος ζώνης στα υφιστάμενα δίκτυα, περιορίζοντας έτσι το κόστος των υποδομών.

Θα περάσουν όμως χρόνια πριν η νέα τεχνολογία φτάσει στην αγορά.

http://www.tovima.gr/science/technology-planet/article/?aid=559711

Ο πλανήτης μας ειναι το λίκνο της ανθρωπότητας.Αλλα κανείς δεν περνάει ολη του τη ζωή στο λίκνο.

Κονσταντίν Εντουάρντοβιτς Τσιολκόφσκι.

Δημοσιεύτηκε

Μιλαμε πλεον για ταχυτητες που χρειαζονται σε ειδικες επιστημονικες εφαρμογες και μονο.

44 ταινιες το δευτερολεπτο.... Ενω χρειαζεσαι 90 ωρες περιπου για να τις παρακολουθησεις, ακουγεται εξωφρενικο. :shock: :shock:

 

Ασε που με τετοιες ταχυτητητες δεν χρειαζεσαι πλεον σκληρο δισκο αλλα αποθηκευτικο χωρο οσο εχει το Gmail συνολικα! :mrgreen: Μετα ειναι και το προβλημα της ταχυτητας εγγραφης.

 

Ουσιαστικα εχουμε φτασει ηδη στο οριο της χρησιμης ταχυτητας για ερασιτεχνες, με ταχυτητες εως 120-150 mbps στην Ελλαδα, με δικτυα οπτικων ινων του εμποριου.

Δημοσιεύτηκε

Ο υπολογιστής Mac της Apple γίνεται σήμερα τριάντα ετών. :cheesy:

Σήμερα συμπληρώνονται τριάντα χρόνια από την πρώτη κυκλοφορία του Macintosh (Mac), του εμβληματικού ηλεκτρονικού υπολογιστή της Apple.

Στην αρχή θεωρήθηκε εντυπωσιακός, αλλά αποτυχημένος. Στις διαδοχικές εκδόσεις του αγαπήθηκε φανατικά από αρχιτέκτονες, γραφίστες και μουσικούς, αλλά και όσους ασχολούνταν με τη σύνταξη κειμένων. O πρώτος Mac κόστισε 500 δολάρια για να κατασκευαστεί. Την πρώτη χρονιά πουλήθηκαν 250.000 τεμάχια και μέχρι πέρυσι τον Οκτώβριο 78 εκατομμύρια Mac συνολικά στην ιστορία του.

Επηρέασε βαθιά τον κλάδο της υψηλής τεχνολογίας γενικά και ειδικότερα όσα προϊόντα κατασκεύασε η Apple από τότε έως σήμερα με τη λιτότητα του σχεδιασμού και την ευχρηστία του. Στις 24 Ιανουαρίου του 1984, όταν ξεκίνησε η εκδήλωση για το ντεμπούτο του Mac, εμφανίστηκε ο Στιβ Τζομπς και διάβασε τους στίχους από το τραγούδι του Μπομπ Ντίλαν «Τhe Times are a-Changing» (Οι καιροί αλλάζουν).

Ακολούθησε ο τότε επικεφαλής της Apple, Τζ. Σκάλεϊ, ο οποίος μίλησε θετικά για τη γνωριμία του με τον κ.Τζομπς (ύστερα από 6 μήνες, πάντως, τον απέλυσε). Επανήλθε ο Στιβ Τζομπς και, συνεχίζοντας να δίνει θεατρικότητα στην εκδήλωση, αναφέρθηκε στη δεσπόζουσα θέση της ΙΒΜ στους προσωπικούς υπολογιστές και αναρωτήθηκε μήπως τελικά επαληθευθεί ο συγγραφέας Τζορτζ Οργουελ και το φουτουριστικό του μυθιστόρημα «1984» με τον Μεγάλο Αδελφό (η ΙΒΜ, κατά τον Τζομπς), που παρακολουθεί τους πάντες.

Ομως, ήταν ο Macintosh εκείνος ο οποίος αμφισβήτησε το μονοπώλιο της ΙΒΜ. Αρχικά, πάντως, αποδείχθηκε αποτυχία. Η μνήμη του ήταν μικρή στα 128Κ, το διαθέσιμο λογισμικό περιορισμένο και η τιμή του ακριβή στις 2.500 δολάρια. Η πορεία του εξομαλύνθηκε το 1986 με τον Macintosh Plus και μνήμη 1 ΜΒ, ο οποίος σε συνδυασμό με τον εκτυπωτή Apple LaserWriter προσέφερε ελκυστικές λύσεις σε εταιρείες και ιδιώτες.

http://www.kathimerini.gr/553571/article/texnologia/computers/o-ypologisths-mac-ths-apple-ginetai-shmera-trianta-etwn

 

Κατι απρόσμενο!!! :cheesy:

«Δώρο Θεού» το ίντερνετ σύμφωνα με τον Πάπα Φραγκίσκο. :cheesy:

«Δώρου Θεού» είναι σύμφωνα με τον Πάπα Φραγκίσκο το διαδίκτυο, καθώς αποτελεί έναν δίαυλο επικοινωνίας ανθρώπων με διαφορετικές θρησκευτικές και πολιτικές πεποιθήσεις. Η δήλωση προέρχεται από γραπτή ανακοίνωση που εξέδωσε ο Ποντίφικας την Πέμπτη, ανήμερα της γιορτής του Αγίου Φραγκίσκου της Γενεύης, ο οποίος είναι προστάτης των δημοσιογράφων και των συγγραφέων.

Στην ανακοίνωση, ο επικεφαλής της Ρωμαιοκαθολικής Εκκλησίας σημειώνει πως η «πρωτόγνωρη πρόοδος» της τεχνολογίας και των ψηφιακών μέσων έχει δημιουργήσει μια αίσθηση κοινότητας για ολόκληρη την ανθρωπότητα.

Έτσι, προσθέτει, το ίντερνετ μπορεί να συμβάλει στην επίλυση θρησκευτικών, οικονομικών και πολιτικών διαφορών. «Το διαδίκτυο προσφέρει τεράστιες δυνατότητες αλληλεγγύης. Αυτό είναι εξαιρετικό καλό, δώρο Θεού», αναφέρει χαρακτηριστικά.

Ο ίδιος βέβαια παραδέχεται πως ο παγκόσμιος ιστός μπορεί να έχει και αρνητικές επιπτώσεις, αφού η τεράστια διάδοση των social media απειλεί να αποξενώσει τους χρήστες από τις οικογένειες και τους φίλους τους. Επίσης, αν και είναι εύκολο να περιχαρακωθεί κανείς σε έναν δικό του κόσμο, απομονωμένος από τον πλούτο των διαφορετικών απόψεων που κατατίθενται στα κοινωνικά δίκτυα, ο ίδιος εκτιμά πως τα οφέλη της κοινωνικής δικτύωσης υπερκεράζουν τα μειονεκτήματα και τους κινδύνους.

Με ένα σχόλιο που σίγουρα θα προκαλέσει αντιδράσεις, στην ίδια ανακοίνωση ο Ποντίφικας καλεί τους Καθολικούς να είναι πιο ανοικτοί στον διάλογο με πιστούς άλλων θρησκειών, αποκηρύσσοντας την πεποίθηση πως εκείνοι κατέχουν τη μία και μοναδική αλήθεια.

http://www.kathimerini.gr/553617/article/texnologia/diadiktyo/dwro-8eoy-to-internet-symfwna-me-ton-papa-fragkisko

F5513ABB0B85615F1A12BBA3F05BE7A6.jpg.db5719b7632573f31a488d6d81c0f606.jpg

vatican-pope-youths_internet-thumb-large.jpg.95e3be1ae582f62587b1b6a245980a28.jpg

Ο πλανήτης μας ειναι το λίκνο της ανθρωπότητας.Αλλα κανείς δεν περνάει ολη του τη ζωή στο λίκνο.

Κονσταντίν Εντουάρντοβιτς Τσιολκόφσκι.

Δημοσιεύτηκε

Ταξίδι στον χρόνο στο Ελληνικό Μουσείο Πληροφορικής 1-2 Φεβρουαρίου 2014 :cheesy:

Το Ελληνικό Μουσείο Πληροφορικής

http://www.elmp.gr/

προσκαλεί τους λάτρεις της τεχνολογίας σε ένα ταξίδι στον χρόνο το Σάββατο και την Κυριακή 1 και 2 Φεβρουαρίου 2014. Η ομάδα του μουσείου θα ξεναγεί τους επισκέπτες στα εκθέματα (με περισσότερα από 140 υπολογιστές από τα τέλη της δεκαετίας του 1970, βιβλία και περιοδικά και χιλιάδες περιφερειακά και άλλα αντικείμενα) από τις 9:00 το πρωί έως τις 9:00 το βράδυ.

Το μουσείο μετεγκαταταστάθηκε από τον Σεπτέμβριο του 2013 στην Λεωφόρο Κηφισού 58, στο Αιγάλεω και άρχισε να δημιουργείται πριν από μερικά μόλις χρόνια από μια μικρή ομάδα με επικεφαλής τον κ.Γιώργο Τσεκούρα, η οποία δηλώνει πως «η γνώση πρέπει να μοιράζεται και κυρίως να είναι ελεύθερη σε όλο το κοινωνικό σύνολο».

 

Ξαναπαίξτε αγαπημένα παιχνίδια Atari στο σαλόνι του Internet Archive

http://tech.in.gr/news/article/?aid=1231283916

Δεκαπέντε χρόνια Google

http://tech.in.gr/news/article/?aid=1231266860

Αποκλειστικά ψηφιακό το Computer Για Όλους από τον Ιούνιο του 2013

http://tech.in.gr/news/article/?aid=1231249371

Για πρώτη φορά στο Ίντερνετ, ιστορικό βίντεο με τον Στ.Τζομπς το 1984

http://tech.in.gr/news/article/?aid=1231290466

30 χρόνια Mac

http://tech.in.gr/news/article/?aid=1231289904

 

http://tech.in.gr/news/article/?aid=1231291020

13E5AB6CA70B61601368037DD3FF36CA.jpg.ee469d883ea5bc91df2bceaac4038ede.jpg

Ο πλανήτης μας ειναι το λίκνο της ανθρωπότητας.Αλλα κανείς δεν περνάει ολη του τη ζωή στο λίκνο.

Κονσταντίν Εντουάρντοβιτς Τσιολκόφσκι.

Δημοσιεύτηκε

Ένας μάγος της κβαντικής φυσικής στην Αθήνα. :cheesy:

Την ερχόμενη Τρίτη, στο Μέγαρο Μουσικής, ο νομπελίστας γάλλος φυσικός Serge Haroche (Σερζ Αρός) θα παρουσιάσει στο κοινό τα «Παράδοξα και παράξενα του κβαντικού κόσμου»

Kβαντικοί υπολογιστές, qubits σε παγίδες ιόντων, κβαντικά ρολόγια (αδιανόητης ακρίβειας), παγίδες με φωτόνια σε υπέρθεση, κβαντική σύμπλεξη φωτονίων με άτομα Rydberg και ο γάτος του Schrodinger … σε όλα τα «Παράξενα και παράδοξα του κβαντικού κόσμου» θα μας ταξιδέψει την Τρίτη 4/2 (7 μ.μ. ) ο κάτοχος του Νόμπελ Φυσικής 2012, Serge Haroche. Η διάλεξη θα γίνει στα γαλλικά (με ταυτόχρονη μετάφραση). Συντονίζει ο Λεωνίδας Ρεσβάνης, τέως Καθηγητής της Φυσικής του Πανεπιστημίου Αθηνών. Η διάλεξη θα μεταδοθεί ζωντανά από το Εθνικό Δίκτυο Έρευνας & Τεχνολογίας https://webcast.grnet.gr/

Διαβάστε σχετικά με την έρευνα του Serge Haroche (αλλά και του David J. Wineland με τον οποίο μοιράστηκε το βραβείο Νόμπελ)-Στους μάγους της κβαντικής φυσικής το βραβείο Νόμπελ Φυσικής

http://physicsgg.me/2012/10/13/%CF%83%CF%84%CE%BF%CF%85%CF%82-%CE%BC%CE%AC%CE%B3%CE%BF%CF%85%CF%82-%CF%84%CE%B7%CF%82-%CE%BA%CE%B2%CE%B1%CE%BD%CF%84%CE%B9%CE%BA%CE%AE%CF%82-%CF%86%CF%85%CF%83%CE%B9%CE%BA%CE%AE%CF%82-%CF%84%CE%BF/

Επίσης, στις 5 Φεβρουαρίου 2014, ημέρα Τετάρτη και ώρα 13.00, θα πραγματοποιηθεί στην Αίθουσα Τελετών του Πανεπιστημίου Πατρών (Κτήριο Διοίκησης, Α΄ όροφος) η τελετή αναγόρευσης του βραβευμένου με βραβείου Nobel (2012) Καθηγητή Φυσικής κ. Serge Haroche, σε Επίτιμο Διδάκτορα της Σχολής Θετικών Επιστημών του Πανεπιστημίου Πατρών. Αναλυτικά, το πρόγραμμα της εκδήλωσης έχει ως εξής:

• Προσφώνηση από τον Πρύτανη του Πανεπιστημίου Πατρών, Καθηγητή κ. Γεώργιο Παναγιωτάκη

• Χαιρετισμός από τον Κοσμήτορα της Σχολής Θετικών Επιστημών, Καθηγητή κ. Χρήστο Κορδούλη

• Παρουσίαση του τιμώμενου από τον Πρόεδρο του Τμήματος Φυσικής, Αναπληρωτή Καθηγητή κ. Αθανάσιο Α. Αργυρίου

• Αναγόρευση του κ. Serge Haroche σε Επίτιμο Διδάκτορα της Σχολής Θετικών Επιστημών από τον Κοσμήτορα της Σχολής Θετικών Επιστημών, Καθηγητή κ. Χρήστο Κορδούλη

• Περιένδυση του τιμώμενου με την τήβεννο του Πανεπιστημίου από τον Πρύτανη

• Επίδοση του μεταλλίου του Πανεπιστημίου από τον Πρύτανη στον τιμώμενο

• Ομιλία του τιμώμενου, με θέμα: «Αναπολώντας την καριέρα και την έρευνά μου»

 

Ο Serge Haroche γεννήθηκε το 1949 στην Καζαμπλάνκα. Σπούδασε στην Ecole Normale Superieure. Εργάσθηκε ως ερευνητής στο CNRS, ως maitre de conferences στην Ecole Polytechnique και ως καθηγητής στο πανεπιστήμιο Pierre-et-Marie-Curie και ως μέλος του Institut de France.

Ταυτοχρόνως δίδαξε επί 9 έτη στο πανεπιστήμιο Yale των ΗΠΑ. Διηύθυνε το Τμήμα Φυσικής της Ecole Normale Superieure από το 1994 έως το 2000. Είναι μέλος της Ακαδημίας Επιστημών της Γαλλίας και administrateur του College de France από την 1η Σεπτεμβρίου του 2012. Διευθύνει την ερευνητική ομάδα «κβαντικής ηλεκτροδυναμικής σε κοιλότητα» η οποία ανήκει στο διιδρυματικό εργαστήριο Kastler Brossel (École normale supérieure/UPMC/CNRS/Collège de France). Το ερευνητικό του αντικείμενο είναι η ατομική φυσική και η κβαντική οπτική.

Ο Καθηγητής Serge Haroche και η ομάδα του, σχεδίασαν πρωτοποριακά πειράματα με τα οποία απομόνωσαν και μέτρησαν τις ιδιότητες των φωτονίων. Η βασική ιδέα των πειραμάτων αυτών είναι η παγίδευσή τους, για χρόνο της τάξεως του δεκάτου του δευτερολέπτου, σε ένα «κιβώτιο φωτονίων» αποτελούμενο από δυο υπεραγώγιμα κάτοπτρα.

Ανήκει στους πρωτοπόρους της κβαντικής ηλεκτροδυναμικής σε κοιλότητα, καθιστώντας την γονιμότατο ερευνητικό πεδίο της πειραματικής επιβεβαιώσεως των θεμελίων της κβαντικής θεωρίας, μέσω της υλοποιήσεως σειράς πειραμάτων βασισμένων σε θεωρίες των θεμελιωτών της. Τα πειράματα αυτά επέτρεψαν επίσης την πραγματοποίηση βασικών πράξεων κβαντικής λογικής, τις πρώτες σε ένα νέο πεδίο, αυτό της κβαντικής επεξεργασίας της πληροφορίας.

Για το έργο του, μοιράστηκε με τον Αμερικανό David Wineland, στις 9 Οκτωβρίου 2012 το βραβείο Nobel Φυσικής, για το έργο τους στην κβαντική φυσική, το οποίο επέτρεψε τη μέτρηση και χειρισμό αυτονόμων κβαντικών συστημάτων.

Πρόκειται για το τρίτο κατά σειράν βραβείο Nobel για το εργαστήριο το οποίο διευθύνει ο Καθηγητής Serge Haroche. Το προηγούμενο είχε απονεμηθεί το 1997 στον Claude Cohen-Tannoudji, επιβλέποντα της διδακτορικής διατριβής του κ. Haroche, και το πρώτο στον Alfred Kastler το 1966, επιβλέποντα της διδακτορικής διατριβής του Cohen-Tannoudji.

http://physicsgg.me/2014/02/02/%ce%ad%ce%bd%ce%b1%cf%82-%ce%bc%ce%ac%ce%b3%ce%bf%cf%82-%cf%84%ce%b7%cf%82-%ce%ba%ce%b2%ce%b1%ce%bd%cf%84%ce%b9%ce%ba%ce%ae%cf%82-%cf%86%cf%85%cf%83%ce%b9%ce%ba%ce%ae%cf%82-%cf%83%cf%84%ce%b7%ce%bd/

 

Ραδιόφωνο από γραφένιο. :cheesy:

Τα γράμματα του ονόματος «IBM» ήταν το μήνυμα που έλαβε το μικρότερο ίσως ραδιόφωνο του κόσμου, ένα αναλογικό τσιπ κατασκευασμένο από πυρίτιο και γραφένιο -το υλικό που αναμένεται να φέρει επανάσταση στην ηλεκτρονική τον 21ο αιώνα.

Το γραφένιο, μια δισδιάστατη μορφή του γραφίτη που χρησιμοποιείται στις μύτες των μολυβιών, αποτελείται από φύλλα άνθρακα με πάχος μόλις ενός ατόμου. Πιο ανθεκτικό από το ατσάλι, ελαστικό σαν καουτσούκ, καλύτερος αγωγός του ηλεκτρισμού από τον χαλκό, το γραφένιο εξασφάλισε το Νόμπελ Φυσικής του 2010 στους ερευνητές που το ανακάλυψαν πριν από μια δεκαετία.

Δεκάδες εταιρείες και ερευνητικά ιδρύματα σπεύδουν τώρα να αξιοποιήσουν το γραφένιο στην ηλεκτρονική αντικαθιστώντας το παραδοσιακό πυρίτιο.

Στον τομέα των ραδιοεπικοινωνιών, μια σημαντική επιτυχία ανακοινώθηκε τον περασμένο Νοέμβριο, όταν αμερικανοί ερευνητές παρουσίασαν έναν μικροσκοπικό ραδιοσταθμό από γραφένιο.

Η τελευταία μελέτη της ΙΒΜ, η οποία δημοσιεύεται στην επιθεώρηση Nature Communications,

http://www.nature.com/ncomms/2014/140130/ncomms4086/full/ncomms4086.html

δείχνει τώρα ότι το θαυματουργό υλικό μπορεί χρησιμοποιηθεί όχι μόνο για τη μετάδοση αλλά και τη λήψη ραδιοσημάτων.

Οι ερευνητές της εταιρείας είχαν κατασκευάσει έναν πρώτο δέκτη από γραφένιο το 2011, διαπίστωσαν όμως ότι τοποθέτηση άλλων εξαρτημάτων, όπως αντιστάσεις και πηνία, προκαλούσαν μηχανικές φθορές στα τρανζίστορ και επιπλέον, το γραφένιο δύσκολα έμενε κολλημένο πάνω στην βάση από πυρίτιο.

Η ερευνητική ομάδα φαίνεται ότι βρήκε τρόπο να ξεπεράσει το εμπόδιο: αντέστρεψε τη διαδικασία συναρμολόγησης έτσι ώστε τα τρανζίστορ γραφενίου να μπαίνουν στη θέση τους τελευταία. Αυτό απέτρεψε τις βλάβες από την τοποθέτηση άλλων εξαρτημάτων και αύξησε την απόδοση του ραδιολήπτη κατά 1.000 φορές, σε σχέση με το κύκλωμα του 2011.

Στις δοκιμές της συσκευής, οι ερευνητές μετέδωσαν ένα ραδιοσήμα που κωδικοποιούσε τα γράμματα I, B και M. To μήνυμα ελήφθη τέλεια, υπερηφανεύεται η ομάδα.

Χάρη στην άριστη αγωγιμότητα του γραφενίου, το νέο κύκλωμα καταναλώνει σημαντικά λιγότερη ενέργεια -είναι επομένως ιδανικό για τους φορητούς ραδιοπομπούς του στρατού.

Αργότερα θα μπορούσε να αξιοποιηθεί και σε ειρηνικές εφαρμογές.

http://physicsgg.me/2014/02/01/%cf%81%ce%b1%ce%b4%ce%b9%cf%8c%cf%86%cf%89%ce%bd%ce%bf-%ce%b1%cf%80%cf%8c-%ce%b3%cf%81%ce%b1%cf%86%ce%ad%ce%bd%ce%b9%ce%bf/

ibm_graphene_chip_labeled_610x328.jpg.e76710f8e7ea0332146fe1c8854ee10b.jpg

2122748851_SergeHaroche.jpg.3c808926178893d09186aff5dcbe70f5.jpg

Ο πλανήτης μας ειναι το λίκνο της ανθρωπότητας.Αλλα κανείς δεν περνάει ολη του τη ζωή στο λίκνο.

Κονσταντίν Εντουάρντοβιτς Τσιολκόφσκι.

  • 2 εβδομάδες αργότερα...
Δημοσιεύτηκε

Serge Haroche: τα παράξενα και παράδοξα του κβαντικού κόσμου. :cheesy:

Ο καθηγητής Serge Haroche, στα πλαίσια της διάλεξής του “Παράξενα και παράδοξα του κβαντικού κόσμου” στο μέγαρο Μουσικής Αθηνών ρωτήθηκε για την έρευνά του και τις εμπειρίες του ως ερευνητή και προέκυψε το παρακάτω βίντεο:

http://physicsgg.me/2014/02/16/serge-haroche-%cf%84%ce%b1-%cf%80%ce%b1%cf%81%ce%ac%ce%be%ce%b5%ce%bd%ce%b1-%ce%ba%ce%b1%ce%b9-%cf%80%ce%b1%cf%81%ce%ac%ce%b4%ce%bf%ce%be%ce%b1-%cf%84%ce%bf%cf%85-%ce%ba%ce%b2%ce%b1%ce%bd%cf%84%ce%b9/

Ο πλανήτης μας ειναι το λίκνο της ανθρωπότητας.Αλλα κανείς δεν περνάει ολη του τη ζωή στο λίκνο.

Κονσταντίν Εντουάρντοβιτς Τσιολκόφσκι.

Δημοσιεύτηκε

«Εξυπνότερα τα ρομπότ από τον άνθρωπο το 2029» :cheesy:

Ο διάσημος επιστήμονας, εφευρέτης και μελλοντολόγος Ρέι Κουρτσβάιλ συγκεντρώνει ξανά την προσοχή των ΜΜΕ με μια νέα… προφητεία του. Όπως υποστηρίζει σε 15 χρόνια από σήμερα τα ρομπότ θα έχουν ξεπεράσει σε νοημοσύνη τον δημιουργό τους, τον άνθρωπο!

Θα είναι σε θέση να μαθαίνουν, να κάνουν αστεία και να... φλερτάρουν.

Στα μέσα της δεκαετίας του 1970 ο Κουρτσβάιλ φοίτησε στο Τμήμα Επιστήμης Υπολογιστών του ΜΙΤ. Μετά την αποφοίτησή του ο Κουρτσβάιλ ασχολήθηκε με επιτυχία με διαφόρους τομείς της επιστήμης και της τεχνολογίας. Ηταν εκ των πρωτοπόρων στους τομείς της τεχνητής νοημοσύνης και της τεχνολογίας αναγνώρισης φωνής. Κέρδισε αρκετές διακρίσεις και βραβεία για την ερευνητική του δραστηριότητα αλλά και την ακαδημαϊκή του παρουσία. Εγινε όμως διάσημος χάρις στις προβλέψεις που συχνά κάνει για τις τεχνολογικές και όχι μόνο εξελίξεις της ανθρωπότητας.

Στις αρχές της δεκαετίας του 1980 ο Κουρτσβάιλ είχε αναφέρει ότι μέχρι τα μέσα του 1990 σε κάθε σπίτι θα υπάρχει ένας υπολογιστής. Το 1990 προέβλεψε ότι ένας υπολογιστής θα καταφέρει μέχρι το 1998 να κερδίσει στο σκάκι έναν πρωταθλητή. Το 1997 o Deep Blue κέρδισε τον Γκάρι Κασπάροφ.

Αργότερα ο Κουρτσβάιλ ανέφερε ότι στα τέλη του 2010 οι υπολογιστές θα έχουν αποκτήσει διάφορα σχήματα, μεγέθη και χρήσεις, προβλέποντας στην ουσία την έλευση των e-books και των tablet. Εχει κάνει όμως και ακόμη πιο… προωθημένες προβλέψεις όπως αυτή που λέει ότι μέχρι το 2030 θα είμαστε σε θέση να κάνουμε «backup», δηλαδή να αποθηκεύσουμε σε ψηφιακή μορφή, ολόκληρο το περιεχόμενο του εγκεφάλου μας μαζί με τις αναμνήσεις!

Κομβικό σημείο στις προβλέψεις του Κουρτσβάιλ είναι η λεγόμενη Singularity, το σημείο δηλαδή εκείνο στο οποίο άνθρωπος και μηχανή θα συγκλίνουν.

Ο Κουρτσβάιλ υποστηρίζει σήμερα ότι η τεχνολογική πρόοδος είναι τόσο αλματώδης που οι προβλέψεις του δεν μπορούν να θεωρούνται πλέον τόσο ριζοσπαστικές όσο στο παρελθόν. Πριν από λίγο καιρό ο 66χρονος Κουρτσβάιλ δέχτηκε μια άκρως δελεαστική πρόταση από τον συν-ιδρυτή της Google Λάρι Πέιτζ. Ο Πέιτζ δεν του προσέφερε απλά μια θέση προϊσταμένου στην εταιρεία αλλά του προσέφερε πρόσβαση στους απεριόριστους οικονομικούς πόρους και την τεχνολογία αιχμής που διαθέτει ο γίγαντας του διαδικτύου για να προσπαθήσει ο Κουρτσβάιλ να υλοποιήσει τις ιδέες του.

Ο Κουρτσβάιλ θέλει το επόμενο διάστημα να ασχοληθεί με τον τομέα της τεχνητής νοημοσύνης και αποδέχτηκε την πρόταση της Google όταν βεβιώθηκε ότι μαζί με αυτόν η εταιρεία προσέλαβε και άλλους κορυφαίους ερευνητές του τομέα της τεχνητής νοημοσύνης.

Ο Κουρτσβάιλ πιστεύει ότι το 2029 τα ρομπότ θα είναι όχι απλά το ίδιο έξυπνα με τον άνθρωπο αλλά θα έχουν καταφέρει να αποκτήσουν υψηλότερη νοημοσύνη από εμάς.

Αυτή τη φορά όμως δεν πρόκειται για μια ακόμη «προφητεία» του Κουρτσβάιλ αλλά για ένα στόχο για τον οποίο ο ίδιος θα εργαστεί να πετύχει.

http://www.tovima.gr/science/technology-planet/article/?aid=570853

bg_Ray_Kurzweil.jpg.426a1467daf02265a98f5fcf4e59c00c.jpg

Ο πλανήτης μας ειναι το λίκνο της ανθρωπότητας.Αλλα κανείς δεν περνάει ολη του τη ζωή στο λίκνο.

Κονσταντίν Εντουάρντοβιτς Τσιολκόφσκι.

Δημοσιεύτηκε

«κβαντική σταγόνα» :cheesy:

Φυσικοί στη Γερμανία και στις ΗΠΑ ανακάλυψαν ένα νέο «εξωτικό» υποατομικό σωματίδιο, που ονόμασαν «κβαντική σταγόνα» (droplet ή dropleton).

Ερευνητές του Ινστιτούτου JILA στις ΗΠΑ και του Πανεπιστημίου του Μάρμπουργκ στη Γερμανία πραγματοποίησαν πειράματα με την εκπομπή παλμών λέιζερ. Τα πειράματα αυτά αποκάλυψαν ένα άγνωστο μέχρι σήμερα υποατομικό σωματίδιο που συμπεριφέρεται εν μέρει ως υγρό, π.χ. δημιουργούνται «ρυτίδες» σε αυτό. Επειδή το σωματίδιο μοιάζει με σταγόνα οι ερευνητές του έδωσαν την ονομασία droplet ή dropleton δηλαδή, «κβαντική σταγόνα».

Σύμφωνα με τους ερευνητές, η κβαντική σταγόνα συμπεριφέρεται όπως τα λεγόμενα «ημισωματίδια» (ή οιονεί σωματίδια) που αποτελούν ένα αμάλγαμα μικρότερων σωματιδίων. Στην περίπτωση του dropleton έχουμε να κάνουμε με ένα αμάλγαμα πέντε ηλεκτρονίων και πέντε «οπών».

Με τον όρο «οπή» οι επιστήμονες περιγράφουν μια θέση όπου θα μπορούσε να ανιχνευθεί ένα ηλεκτρόνιο, αλλά αυτό δεν βρίσκεται εκεί. Παρόλα αυτά η «οπή» θεωρείται ένα είδος σωματιδίου.

Η μικροσκοπική «σταγόνα» έκανε ένα φευγαλέο πέρασμα στα πειράματα των ερευνητών. Πάνω σε ημιαγωγό γαλλίου - αρσενιδίου γίνονταν εκπομπές πολύ γρήγορου λέιζερ 100 εκατ. παλμών ανά δευτερόλεπτο. Το dropleton εμφανίστηκε για μόλις 2,5 δισεκατομμυριοστά του δευτερολέπτου, αρκετά όμως στους φυσικούς για να κάνουν περαιτέρω έρευνες σχετικά με την αλληλεπίδραση του φωτός και της ύλης.

Σύμφωνα με τους ειδικούς, η ανακάλυψη μπορεί μελλοντικά να φανεί χρήσιμη στη νανοτεχνολογία, π.χ. στον φωτισμό LED ή στον σχεδιασμό νέων οπτοηλεκτρονικών συσκευών, όπως λέιζερ ημιαγωγών που χρησιμοποιούνται στα blu-ray players και στις τηλεπικοινωνίες.

Τα τελευταία χρόνια οι επιστήμονες έχουν ανακαλύψει διάφορα ημισωματίδια, που τους έχουν δώσει εξωτικά ονόματα (λεβιτόνια, ορμπιτόνια, εξιτόνια, ρυτιδόνια κ.α.). Σε αυτόν τον συνεχώς διευρυνόμενο κατάλογο έρχεται να προστεθεί και η κβαντική σταγόνα (ή dropleton). Το καθένα από αυτά τα σωματίδια αποτελείται από επί μέρους σωματίδια, αλλά συμπεριφέρεται μέσα σε ένα στερεό υλικό (όπως ο ημιαγωγός) σαν να είναι ένα ενιαίο θεμελιώδες υποατομικό σωματίδιο.

http://www.tovima.gr/science/physics-space/article/?aid=571968

3466B7A30095C5644844232A2C85B931.thumb.jpg.f864bc1cddde8c02fece657d1a66b7b4.jpg

Ο πλανήτης μας ειναι το λίκνο της ανθρωπότητας.Αλλα κανείς δεν περνάει ολη του τη ζωή στο λίκνο.

Κονσταντίν Εντουάρντοβιτς Τσιολκόφσκι.

  • 2 εβδομάδες αργότερα...
Δημοσιεύτηκε

Μετατροπή ραδιοκυμάτων σε φως. :cheesy:

Δανοί και Αμερικανοί φυσικοί κατασκεύασαν μια υπερ-ευαίσθητη συσκευή που μπορεί να ανιχνεύει ασθενή ραδιοσήματα και να τα μετατρέπει σε οπτικά σήματα (φως λέιζερ), τα οποία είναι δυνατό να μεταδοθούν μέσω οπτικών ινών.

Η ανακάλυψη θεωρείται δυνητικά σημαντική, επειδή μπορεί να έχει πλήθος πρακτικών εφαρμογών στις τηλεπικοινωνίες, στη βελτίωση των ιατρικών τεχνικών μαγνητικής απεικόνισης, στα ραδιο-τηλεσκόπια, στους δορυφόρους, στη διασύνδεση των μελλοντικών κβαντικών υπολογιστών σε δίκτυο (δηλαδή σε ένα «κβαντικό διαδίκτυο»), στην κβαντική κρυπτογράφηση κ.α.

Οι ερευνητές, με επικεφαλής τον καθηγητή Γιουτζίν Πόλτσικ του Ινστιτούτου Νιλς Μπορ του Πανεπιστημίου της Κοπεγχάγης, έκαναν τη σχετική δημοσίευση στο περιοδικό “Nature“.

http://www.nature.com/nature/journal/v507/n7490/full/nature13029.html

Η ανίχνευση πολύ ασθενών ραδιοσημάτων βρίσκεται στην καρδιά πολλών σύγχρονων τεχνολογιών, από τη δορυφορική πλοήγηση και τις τηλεπικοινωνίες μεγάλων αποστάσεων έως τη ραδιο-αστρονομία και την ιατρική διαγνωστική απεικόνιση. Οι δέκτες ραδιοκυμάτων χρησιμοποιούν κεραίες για να συλλέξουν τη σχετική ακτινοβολία. Τα κύματα δημιουργούν στη συνέχεια ένα ηλεκτρικό σήμα, που μεταδίδεται μέσω σύρματος.

Όταν τα ραδιοσήματα είναι ασθενή, πρέπει προηγουμένως να ενισχυθούν μέσω ενισχυτών όπως τα τρανζίστορ, τα οποία όμως δημιουργούν θερμικό «θόρυβο» που «πνίγει» το ραδιοσήμα. Όσο μεγαλύτερος είναι ο «θόρυβος», τόσο μικρότερη είναι η ευαισθησία του δέκτη, πράγμα που οδηγεί στην ανάγκη μεγάλης ψύξης των ηλεκτρικών ενισχυτών (έως τους μείον 265 βαθμούς Κελσίου) για να μειωθούν οι θερμικές δονήσεις που προκαλούν τον «θόρυβο».

Η καινοτομία της δανο-αμερικανικής ανακάλυψης -που εντάσσεται στο πεδίο της οπτομηχανικής- είναι ότι η νέα συσκευή ανίχνευσης ασθενών ραδιοσημάτων τα μετατρέπει απευθείας σε οπτικά σήματα σε συνθήκες θερμοκρασίας δωματίου, χωρίς να χρειάζεται να μεσολαβήσει η ενίσχυσή τους από κάποιον ενισχυτή. Η ακρίβεια του μεταδιδόμενου σήματος περιορίζεται μόνο από τις κβαντικές διακυμάνσεις του φωτός λέιζερ, αλλά ο παραγόμενος κβαντικός «θόρυβος» είναι μηδαμινός.

Όμως, προς το παρόν, το σύστημα έχει χαμηλή αποδοτικότητα, καθώς μετατρέπει με επιτυχία σε φως ένα μικρό μόνο ποσοστό των ραδιοσημάτων, γι’ αυτό πρέπει να βελτιωθεί, προτού βρει πρακτικές εφαρμογές. Επίσης, οι ερευνητές σχεδιάζουν τη σμίκρυνσή της συσκευής, ώστε να χωρά σε ένα «τσιπάκι», καθώς και την περαιτέρω βελτίωση της ευαισθησίας της από την τάξη των megahertz σε εκείνη των gigahertz.

http://physicsgg.me/2014/03/07/%ce%bc%ce%b5%cf%84%ce%b1%cf%84%cf%81%ce%bf%cf%80%ce%ae-%cf%81%ce%b1%ce%b4%ce%b9%ce%bf%ce%ba%cf%85%ce%bc%ce%ac%cf%84%cf%89%ce%bd-%cf%83%ce%b5-%cf%86%cf%89%cf%82/

pw-2014-03-04-moskvitch-radio.jpg.9bfbc541947373e9225680135c256fde.jpg

Ο πλανήτης μας ειναι το λίκνο της ανθρωπότητας.Αλλα κανείς δεν περνάει ολη του τη ζωή στο λίκνο.

Κονσταντίν Εντουάρντοβιτς Τσιολκόφσκι.

Δημοσιεύτηκε

25 χρόνια WWW: H ημέρα που άλλαξε ο κόσμος. :cheesy:

Ηταν 12 Μαρτίου 1989 όταν γεννήθηκε το Web, που εξελίχθηκε στο μέσο επικοινωνίας με τη μεγαλύτερη επιρροή στην υφήλιο!

Ξεπήδησε από το μυαλό ενός ανθρώπου και εξελίχθηκε στο μέσο επικοινωνίας με τη μεγαλύτερη επιρροή στον κόσμο, καταφέρνοντας να αλλάξει για πάντα τη ζωή μας. Ο Παγκόσμιος Ιστός (World Wide Web ή, εν συντομία, Web) γίνεται σήμερα 25 ετών.

Αν ο όρος δεν σας λέει πολλά, καθήστε για μια στιγμή και σκεφτείτε: πόσες φορές δεν έχετε καταφύγει στο Google για να βρείτε πληροφορίες που μέχρι πριν από λίγα χρόνια αναζητούσατε σε εγκυκλοπαίδειες, βιβλία, οδηγούς και τηλεφωνικούς καταλόγους; Πόσες φορές δεν έχετε μπει στο facebook ή στο Skype για να επικοινωνήσετε με τα αγαπημένα σας πρόσωπα, κάτι που παλαιότερα μπορούσατε να κάνετε μόνο από το τηλέφωνο (και μάλιστα επί πληρωμή); Και πόσες φορές δεν έχετε επισκεφθεί το Διαδίκτυο για να μάθετε τις τελευταίες ειδήσεις, να παρακολουθήσετε ταινίες και βίντεο και να ακούσετε μουσική;

Χωρίς καμία δόση υπερβολής, όλα αυτά τα οφείλετε σε έναν λονδρέζο ιππότη: τον σερ Τιμ Μπέρνερς-Λι. Ηταν 12 Μαρτίου 1989 όταν ο 33χρονος τότε μηχανικός υπολογιστών στο CERN (τον Ευρωπαϊκό Οργανισμό Πυρηνικών Ερευνών, γνωστό σήμερα από την ανακάλυψη του μποζονίου του Χιγκς) πρότεινε τη δημιουργία ενός συστήματος διαχείρισης και ανταλλαγής πληροφοριών μέσω ηλεκτρονικών υπολογιστών.

«Αόριστο αλλά συναρπαστικό» ήταν η απάντηση του προϊσταμένου τού Μπέρνερς-Λι όταν διάβασε την πρότασή του. Πού να ήξερε, όμως, ότι πολύ σύντομα αυτό το «αόριστο» σχέδιο θα κατακτούσε ολόκληρο τον πλανήτη και θα έφερνε πραγματική επανάσταση στην επικοινωνία και στη μετάδοση της γνώσης, ενισχύοντας παράλληλα την προσπάθεια των ανθρώπων να κατακτήσουν περισσότερη ελευθερία - η οποία ψαλιδίζεται καθημερινά από αυταρχικά καθεστώτα, μυστικές υπηρεσίες και κυβερνοεγκληματίες που επιχειρούν να ελέγξουν ή να κλέψουν αυτά που κάνουμε στο Διαδίκτυο.

Ευτυχώς για εμάς, ο διευθυντής τού Μπέρνερς-Λι πρόσθεσε τη λέξη «συναρπαστικό» και του επέτρεψε να υλοποιήσει την πρότασή του και να μας χαρίσει το Ιντερνετ στη μορφή που το ξέρουμε σήμερα.

Το ίδιο το Διαδίκτυο, βέβαια, είχε εφευρεθεί περίπου δύο δεκαετίες πριν από το Web, συνδέοντας δίκτυα υπολογιστών που διαχειρίζονταν κυβερνητικοί οργανισμοί, ερευνητικά ιδρύματα και οι ένοπλες δυνάμεις. Ποια είναι η διαφορά των δύο εφευρέσεων; Σκεφθείτε το Ιντερνετ ως μια σιδηροδρομική γραμμή και το Web ως ένα από τα τρένα που κινούνται επάνω της. Σήμερα υπάρχουν αρκετά άλλα «τρένα»: οι εφαρμογές (apps) που χρησιμοποιούμε στα κινητά μας, πλατφόρμες επικοινωνίας όπως το Skype, υπηρεσίες διαμοιρασμού αρχείων (file-sharing) κ.λπ. Ωστόσο, ο Παγκόσμιος Ιστός είναι η «αμαξοστοιχία» που έφερε το Διαδίκτυο στα χέρια όλων μας, δίνοντάς μας πρόσβαση σε δισεκατομμύρια σελίδες με πληροφορίες.

Το Web είναι ένα σύστημα συνδεδεμένων εγγράφων (γνωστά ως υπερκείμενα) στα οποία οι χρήστες έχουν πρόσβαση μέσω του Ιντερνετ χρησιμοποιώντας ένα πρόγραμμα περιήγησης (όπως ο Mozilla Firefox, o Google Chrome και ο Internet Explorer). Θέλετε να δείτε τι καιρό θα κάνει αύριο; Απλώς πληκτρολογήστε www.emy.gr για να μπείτε στον ιστότοπο της ΕΜΥ. Δεν ξέρετε πότε πρέπει να καταθέσετε τη φορολογική σας δήλωση; Μια επίσκεψη στο www.gsis.gr, το σάιτ της Γενικής Γραμματείας Πληροφορικών Συστημάτων, θα σας δώσει την απάντηση. Ολοι οι ιστότοποι είναι μέρος του Παγκόσμιου Ιστού, τον οποίο χρησιμοποιείτε καθημερινά έστω και αν δεν ξέρατε ώς τώρα το όνομά του.{ARX}

Αν σήμερα κανονίζετε τις διακοπές σας, κάνετε τα ψώνια σας και υποβάλλετε αιτήσεις μέσω του Διαδικτύου – ενέργειες που έως πριν από λίγα χρόνια θα έμοιαζαν αδιανόητες – είναι διότι ο Τιμ Μπέρνερς-Λι εφηύρε το Web πριν από 25 χρόνια.

Από τότε έως σήμερα κύλησε πολύ νερό στο ψηφιακό αυλάκι: ο όγκος του Παγκόσμιου Ιστού έγινε τεράστιος (μόνο οι σελίδες που είναι προσβάσιμες από τις μηχανές αναζήτησης υπερβαίνουν τα 2,3 δισεκατομμύρια) και, παράλληλα, γιγαντώθηκαν οι εταιρείες του Διαδικτύου – μαζί με αυτές και τα κέρδη τους.

Το μόνο πρόσωπο που δεν πλούτισε από αυτήν την ιστορία είναι ο Μπέρνερς-Λι. Αν είχε δει το Ιντερνετ ως εμπορική ευκαιρία θα μπορούσε σήμερα να είναι κροίσος. Ωστόσο, εν πλήρει συνειδήσει προσπάθησε να οικοδομήσει ένα δίκτυο χωρίς όρια και φραγμούς. Παράλληλα, αντιτάχθηκε σθεναρά στις μεγάλες εταιρείες που προσπαθούν να μονοπωλήσουν το Διαδίκτυο και στις κυβερνήσεις που παρακολουθούν τους χρήστες του και υπερασπίστηκε το δικαίωμα όλων των πολιτών στην ισότιμη πρόσβαση στις πληροφορίες.

Ο πατέρας του Web παραμένει σταθερά προσηλωμένος στην ανάπτυξη της εφεύρεσής του προς όφελος όλων των ανθρώπων. =D> =D> =D>

Συνεργάζεται με κυβερνήσεις σε όλο τον κόσμο και προσπαθεί να τις πείσει να καταστήσουν προσβάσιμες (ανοικτές) τις πληροφορίες που διαχειρίζονται. Ο ίδιος δεν διεκδίκησε ποτέ χρήματα για την εφεύρεσή του, την οποία χρησιμοποίησαν εταιρείες όπως η Google, η Apple και το facebook για να θησαυρίσουν.

«Ο δισεκατομμυριούχος-παράσιτο Μαρκ Ζάκερμπεργκ πρέπει να δώσει τα μισά λεφτά του στον Τιμ Μπέρνερς-Λι» έγραψε πρόσφατα ένας αναγνώστης της ηλεκτρονικής έκδοσης του «Γκάρντιαν».

Τα εικοστά πέμπτα γενέθλια του Παγκόσμιου Ιστού βρίσκουν περίπου 2,7 δισ. ανθρώπους (λίγο παραπάνω από το ένα τρίτο του πληθυσμού της Γης) συνδεδεμένους με το Διαδίκτυο.

Τι επιφυλάσσει το μέλλον; «Οπως συμβαίνει με τους περισσότερους εικοσάρηδες, οι πλήρεις δυνατότητες του Web μόλις τώρα αρχίζουν να φαίνονται» είπε πριν από λίγες ημέρες ο Τιμ Μπέρνερς-Λι, ο οποίος το 2004 χρίστηκε ιππότης από τη βασίλισσα Ελισάβετ. Παράλληλα, όμως, επέκρινε τις παρακολουθήσεις της NSA (και όχι μόνο), προειδοποιώντας ότι ο δημοκρατικός χαρακτήρας του Ιντερνετ κινδυνεύει και έκανε λόγο για την ανάγκη «να προστατευθούν τα θεμελιώδη δικαιώματα στην ιδιωτικότητα, στην έκφραση της γνώμης και στη συνάθροιση online».

Το 1989, όταν έπεφτε το Τείχος του Βερολίνου και στην Ελλάδα εξέπεμπαν τα πρώτα ιδιωτικά τηλεοπτικά κανάλια, το Διαδίκτυο μετρούσε ήδη δύο δεκαετίες ζωής. Το σύστημα αυτό – άγνωστο στους περισσοτέρους – επέτρεπε την αποστολή και λήψη δεδομένων μεταξύ ηλεκτρονικών υπολογιστών ανεξάρτητα από τη γεωγραφική θέση τους. Ωστόσο, κανείς έως τότε δεν είχε καταφέρει να εφεύρει έναν αποτελεσματικό τρόπο που θα έκανε τα δεδομένα αυτά προσβάσιμα στο κοινό.

Εκείνη την εποχή ο Τιμ Μπέρνερς-Λι εργαζόταν ως προγραμματιστής στον Ευρωπαϊκό Οργανισμό Πυρηνικών Ερευνών (CERN) στη Γενεύη. Από καιρό τον προβλημάτιζε η απώλεια των δεδομένων και των συμπερασμάτων που προέκυπταν από τα επιστημονικά πειράματα: πολύ συχνά έβλεπε τους ερευνητές να σπαταλούν τον χρόνο τους προσπαθώντας να λύσουν ένα πρόβλημα το οποίο είχε ήδη λυθεί από κάποιον άλλον συνάδελφό τους αλλά εκείνοι το αγνοούσαν.

Σκέφτηκε λοιπόν ότι έπρεπε να δημιουργηθεί μια τεράστια βάση δεδομένων που θα περιέχει παντός είδους πληροφορίες οι οποίες θα μπορούν να εντοπισθούν αμέσως. Στις 12 Μαρτίου του ίδιου έτους συνέταξε ένα κείμενο με τον λιτό και σαφή τίτλο «Διαχείριση Πληροφοριών: Μία πρόταση». Ο Παγκόσμιος Ιστός, το σύστημα που είναι συνυφασμένο σχεδόν με κάθε πτυχή της σύγχρονης ζωής, είχε μόλις δημιουργηθεί – τουλάχιστον στα χαρτιά.

«Τα προβλήματα της απώλειας πληροφοριών μπορεί να είναι ιδιαίτερα έντονα στο CERN, αλλά στην προκειμένη περίπτωση το CERN είναι μια μικρογραφία αυτού που θα είναι ο υπόλοιπος κόσμος σε λίγα χρόνια. Το CERN αντιμετωπίζει σήμερα κάποια προβλήματα που ο υπόλοιπος κόσμος θα αντιμετωπίσει σύντομα. Πρέπει να δημιουργήσουμε ένα παγκόσμιο συνδεδεμένο σύστημα πληροφοριών» έγραψε ο Μπέρνερς-Λι.

Στην ουσία, ο βρετανός επιστήμονας πρότεινε να δημιουργηθούν μονοπάτια που θα ανοίγουν δρόμους ανάμεσα σε τεράστια βουνά δεδομένων και θα κατευθύνουν τον χρήστη εκεί ακριβώς που θέλει να πάει. Η ιδέα δεν ήταν εντελώς νέα, ωστόσο ήρθε σε μια στιγμή που οι υπολογιστές ήταν πανταχού παρόντες και το Διαδίκτυο παρείχε την απαραίτητη υποδομή για την υλοποίησή της.

Σε άρθρο που είχε δημοσιεύσει το 1945 ο αμερικανός μηχανικός Βάνεβαρ Μπους είχε προτείνει τη δημιουργία ενός συστήματος με το όνομα memex – εκ του memory (μνήμη) και του index (ευρετήριο) –, μέσω του οποίου θα μπορούσαμε να συμπιέσουμε και να αποθηκεύσουμε το περιεχόμενο όλων των βιβλίων και κάθε είδους πληροφορία που διατίθεται στη Γη. Αυτό δηλαδή που έκανε ο Παγκόσμιος Ιστός περίπου 45 χρόνια αργότερα.

Με αξιοσημείωτη διορατικότητα, ο Μπους προέβλεψε ότι «θα εμφανιστούν εξ ολοκλήρου νέες μορφές εγκυκλοπαιδειών τις οποίες θα διατρέχει ένα πλέγμα προσεταιριστικών μονοπατιών».

Το άρθρο αυτό, καθώς επίσης και το έργο άλλων επιστημόνων όπως ο Ντάγκλας Ενγκελμπαρτ – ο δημιουργός του ποντικιού των υπολογιστών – επηρέασε καταλυτικά τον Μπέρνερς-Λι. Οταν δημιούργησε την πρώτη ιστοσελίδα στην Ιστορία, έγραψε σε αυτήν ότι «το Web είναι μια πρωτοβουλία για την ανάκτηση πληροφοριών που έχει στόχο να δώσει καθολική πρόσβαση σε ένα μεγάλο σύμπαν εγγράφων».

Ο Τιμ Μπέρνερς-Λι πρωταγωνίστησε σε όλα τα στάδια της οικοδόμησης του Παγκόσμιου Ιστού: με τη βοήθεια συναδέλφων του επινόησε το πρωτόκολλο HTTP για την ανταλλαγή δεδομένων μεταξύ υπολογιστών, τη γλώσσα HTML που χρησιμοποιείται για τη δημιουργία ιστοσελίδων και το πρώτο πρόγραμμα περιήγησης (browser) που ονόμασε – πώς αλλιώς; – WorldWideWeb.

Σύντομα οι επιστήμονες του CERN άρχισαν να χρησιμοποιούν το νέο σύστημα για να μοιράζονται τα αποτελέσματα των πειραμάτων και των ερευνών τους, κάτι που προηγουμένως ήταν αδύνατο να πράξουν. Το 1993 ο οργανισμός ανακοίνωσε ότι κάθε άνθρωπος είναι ελεύθερος να χρησιμοποιήσει το Web. Τον Ιούνιο του ίδιου έτους ο Παγκόσμιος Ιστός μπήκε στη ζωή των απλών πολιτών (όσοι, βέβαια, είχαν σύνδεση στο Ιντερνετ) μέσω του Mosaic, του προγράμματος περιήγησης που σύστησε το Διαδίκτυο στο ευρύ κοινό. Στην αρχή υπήρξε διχογνωμία για το αν οι browsers θα έπρεπε να διατίθενται δωρεάν ή επί πληρωμή. Σήμερα, τα πιο δημοφιλή προγράμματα περιήγησης είναι ο Chrome της Google, ο Firefox του ιδρύματος Mozilla και ο Internet Explorer της Microsoft. Ολα παρέχονται δωρεάν.

Ο Παγκόσμιος Ιστός είναι το ταχύτερα αναπτυσσόμενο μέσο επικοινωνίας όλων των εποχών, το οποίο ξεπέρασε τους 50 εκατ. χρήστες μόλις τέσσερα χρόνια μετά τη δημιουργία του. Για να το κάνει αυτό το ραδιόφωνο χρειάστηκε να περάσουν 38 χρόνια, ενώ στην τηλεόραση πήρε 13 χρόνια.

Βέβαια, το Web σήμερα είναι αρκετά διαφορετικό από εκείνο που εμφανίστηκε πριν από 25 χρόνια.

Στο Web 1.0, το οποίο κυριαρχούσε ώς τα τέλη της δεκαετίας του 1990, εμφανίζονταν κείμενα μόνο για ανάγνωση μέσα σε στατικές ιστοσελίδες. Η εξέλιξη του Παγκόσμιου Ιστού ήταν το Web 2.0 το οποίο περιέχει διαδραστικά και δυναμικά στοιχεία και ταυτίστηκε με την εξάπλωση των μπλογκ, των κοινωνικών δικτύων και υπηρεσιών όπως οι online χάρτες.

Σήμερα οι ειδικοί οραματίζονται το Web 3.0: πρόκειται για εφαρμογές που μπορούν να «καταλάβουν» το περιεχόμενο των ιστοσελίδων (ο λεγόμενος Σημασιολογικός Ιστός) και για το Διαδίκτυο των Πραγμάτων, όπου όλες οι συσκευές θα επικοινωνούν μεταξύ τους κι εμείς θα μπορούμε να ελέγχουμε τη θέρμανση του σπιτιού μας από το κινητό μας, το ψυγείο μας θα παραγγέλνει μόνο του τα ψώνια στο σουπερμάρκετ και τα πάρκινγκ θα ενημερώνουν το αυτοκίνητό μας αν έχουν ή όχι κενές θέσεις!

http://www.tanea.gr/news/science-technology/article/5096123/h-hmera-poy-allakse-o-kosmos/

808939915_-.jpg.a5eea5cdc34fb2c360e980d387eccfae.jpg

17773901_shutterstock_125086040_1394605701466_limghandler.jpg.e09d8ffe579dc8fab5c771982092f392.jpg

Ο πλανήτης μας ειναι το λίκνο της ανθρωπότητας.Αλλα κανείς δεν περνάει ολη του τη ζωή στο λίκνο.

Κονσταντίν Εντουάρντοβιτς Τσιολκόφσκι.

Δημιουργήστε έναν λογαριασμό ή συνδεθείτε για να σχολιάσετε

Πρέπει να είσαι μέλος για να αφήσεις ένα σχόλιο

Δημιουργία λογαριασμού

Εγγραφείτε για έναν νέο λογαριασμό στην κοινότητά μας. Είναι εύκολο!.

Εγγραφή νέου λογαριασμού

Συνδεθείτε

Έχετε ήδη λογαριασμό? Συνδεθείτε εδώ.

Συνδεθείτε τώρα

×
×
  • Δημιουργία νέου...

Σημαντικές πληροφορίες

Όροι χρήσης